LEMON Manuals: Even more car manuals for everyone: 1960-2025
Home >> Pontiac >> 2008 >> Torrent Base, AWD >> Repair and Diagnosis (Single Page) >> Electrical >> Component Locations >> Wiring Systems And Power Management - Component Views & Component Connector End Views >> Component Connector End Views >> Shift Pressure Control Solenoid (SLS)
April 5, 2026: LEMON Manuals is launched! Read the announcement.

Shift Pressure Control Solenoid (SLS)

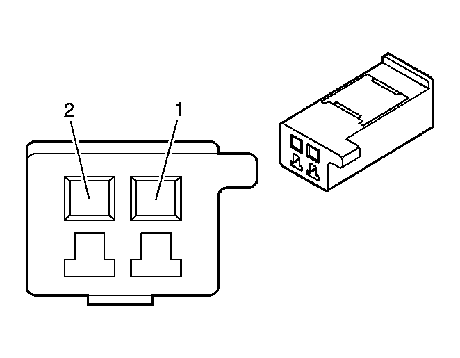
Fig 1: Shift Pressure Control Solenoid (SLS) Connector End View
GM1545985Courtesy of GENERAL MOTORS CORP.
Shift Pressure Control Solenoid (SLS)

Pin Wire Circuit Function
1 RD 2880 Shift Pressure Control Solenoid Valve High Control
2 BU 5508 Shift Pressure Control Solenoid Valve Low Control
Connector Part Information 
  • OEM: Aisin AW
  • Service: Non-Serviceable
  • Description: Conn 2-Way F (GN)
Terminal Part Information 
  • Terminal: Non-Serviceable
  • Core/Insulation Crimp: Non-Serviceable
  • Release Tool/Test Probe: Non-Serviceable