LEMON Manuals: Even more car manuals for everyone: 1960-2025
Home >> Pontiac >> 2008 >> Torrent Base, AWD >> Repair and Diagnosis (Single Page) >> Quick Lookups >> Electrical Component Locations >> Wiring Systems And Power Management - Component Views & Component Connector End Views >> Component Connector End Views >> Hazard Switch
April 5, 2026: LEMON Manuals is launched! Read the announcement.

Hazard Switch

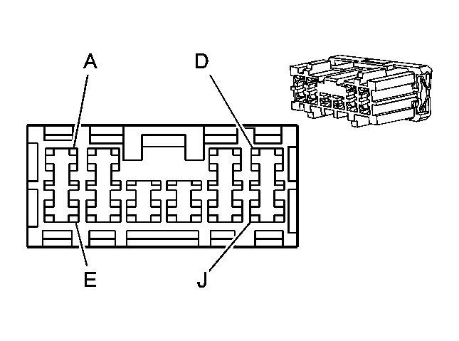
Fig 1: Hazard Switch Connector End View
GM1412993Courtesy of GENERAL MOTORS CORP.
Hazard Switch

Pin Wire Circuit Function
A - - Not Used
B 0.35 TN 2144 Hazard Switch Signal
C 0.35 BK/WH 1551 Ground
D-H - - Not Used
I 0.8 GY 8 Instrument Panel Lamp Supply Voltage
J 0.35 BK 1450 Ground
Connector Part Information 
  • OEM: 7183-7201-80
  • Service: See Catalog
  • Description: 10-Way F (BN)
Terminal Part Information 
  • Pins: B, C, I, J
  • Terminal/Tray: 8240-4412/22
  • Core/Insulation Crimp: E/C
  • Release Tool/Test Probe: 15315247/J-35616-2A (GY)
  • Pins: I
  • Terminal/Tray: 8240-4422/6
  • Core/Insulation Crimp: E/A
  • Release Tool/Test Probe: 15315247/J-35616-2A (GY)