LEMON Manuals: Even more car manuals for everyone: 1960-2025
Home >> Pontiac >> 2008 >> Torrent Base, AWD >> Repair and Diagnosis (Single Page) >> Quick Lookups >> Electrical Component Locations >> Wiring Systems And Power Management - Component Views & Component Connector End Views >> Component Connector End Views >> Horn Switch
April 5, 2026: LEMON Manuals is launched! Read the announcement.

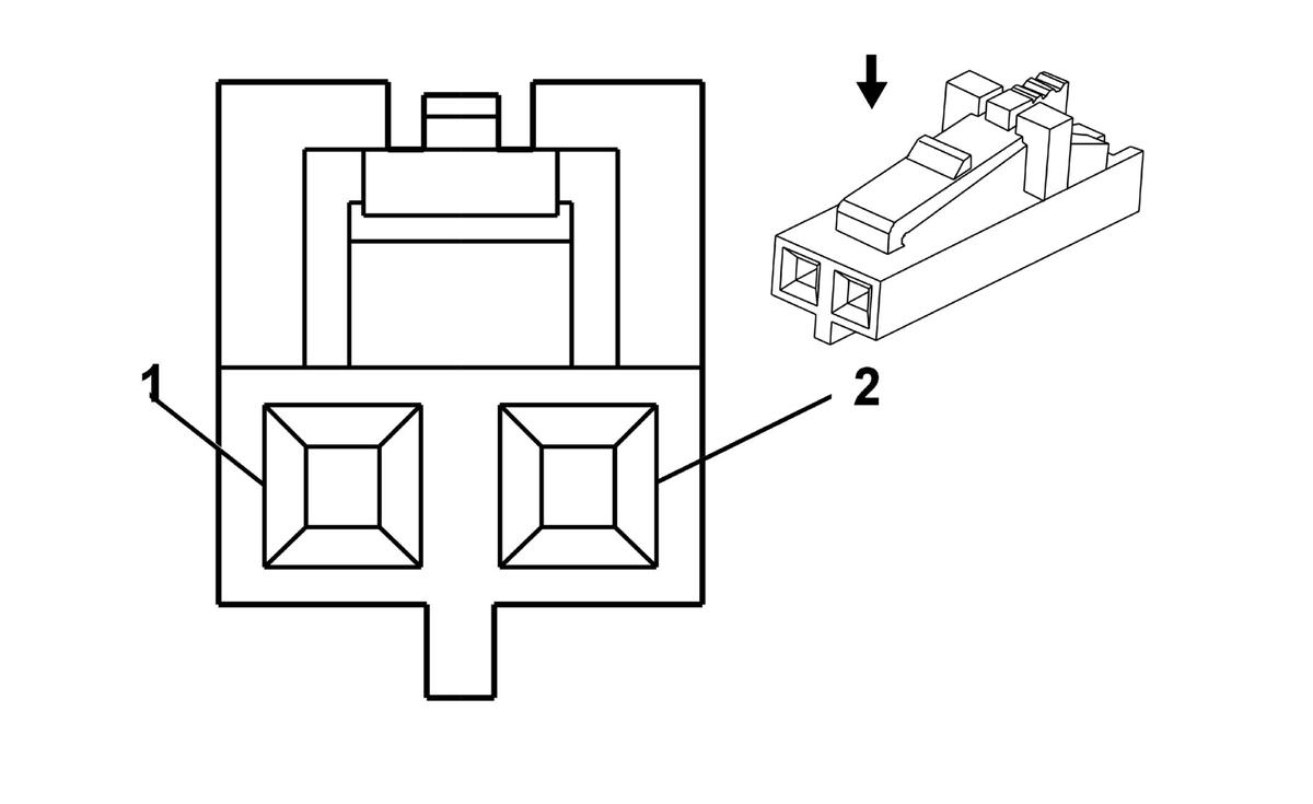
Horn Switch

Fig 1: Horn Switch Connector End View
GM1335523Courtesy of GENERAL MOTORS CORP.
Horn Switch

Pin Wire Circuit Function
1 0.35 TN 28 Horn Relay Control
2 0.35 BK 1450 Ground
Connector Part Information 
  • OEM: 50-57-9402
  • Service: 15306026
  • Description: 2-Way F SL Series (BK)

Terminal Part Information 
  • Terminal/Tray: See Terminal Repair Kit
  • Core/Insulation Crimp: See Terminal Repair Kit
  • Release Tool/Test Probe: See Terminal Repair Kit