LEMON Manuals: Even more car manuals for everyone: 1960-2025
Home >> Pontiac >> 2008 >> Torrent Base, AWD >> Repair and Diagnosis (Single Page) >> Quick Lookups >> Electrical Component Locations >> Wiring Systems And Power Management - Component Views & Component Connector End Views >> Electrical Center Identification Views >> Fuse Block - Instrument Panel X3
April 5, 2026: LEMON Manuals is launched! Read the announcement.

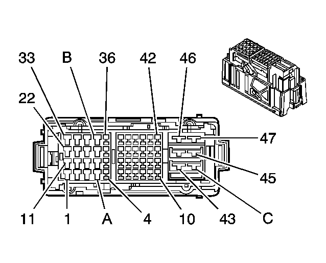
Fuse Block - Instrument Panel X3

Fig 1: Fuse Block - Instrument Panel X3 Connector End View
GM1757913Courtesy of GENERAL MOTORS CORP.
Fuse Block - Instrument Panel X3

Pin Wire Circuit Function
1 1.0 TN 294 Door Lock Actuator Unlock Control
1.0 TN 294 Door Lock Actuator Unlock Control
2 1.0 TN 294 Door Lock Actuator Unlock Control
3 1.0 TN 694 Driver Door Lock Actuator Unlock Control
4 0.35 TN 707 RAP Relay Coil Supply Voltage
5 0.8 L-BU 1320 CHMSL Supply Voltage
6 0.5 L-BU 1320 CHMSL Supply Voltage
0.5 L-BU 1320 CHMSL Supply Voltage
7 - - Not Used
8 0.35 YE 356 Driver Door Lock Relay Unlock Control
9 0.35 YE 5704 Endgate Latch Relay Coil Control
10 - - Not Used
11 1.0 RD/WH 2140 Battery Positive Voltage
12 1.0 GY 295 Door Lock Actuator Lock Control
13 1.0 YE 643 Accessory Voltage
14 0.5 RD/WH 1340 Battery Positive Voltage (ASF)
0.5 RD/WH 1340 Battery Positive Voltage (-ASF)
15 0.5 PK 1139 Ignition Voltage
16 0.5 D-GN 5060 Low Speed GMLAN Serial Data (ASF)
0.5 D-GN 5060 Low Speed GMLAN Serial Data (-ASF)
0.35 D-GN 5060 Low Speed GMLAN Serial Data (U2K)
17 - - Not Used
18 0.35 L-GN 2270 Rear Window Washer Relay Control
19 0.35 GY 391 Rear Window Wiper Switch Signal
20 0.35 D-GN 5706 Endgate Latch Relay Supply Voltage
21 0.5 RD/WH 2340 Battery Positive Voltage
22 0.5 L-BU 6128 Rear Closure Unlatch Motor Unlatch Control
23 1.0 GY 295 Door Lock Actuator Lock Control
24 0.8 RD/WH 240 Battery Positive Voltage
25 - - Not Used
26 0.35 PK 1139 Ignition Voltage
27 0.35 TN 28 Horn Relay Control
28 0.35 L-BU 5986 Serial Data Communication Enable
29 0.5 L-GN 2270 Rear Window Washer Relay Control
30 0.8 RD/WH 440 Battery Positive Voltage
31 0.5 RD/WH 2840 Battery Positive Voltage
32 0.35 RD/WH 1840 Battery Positive Voltage
33 - - Not Used
34 1.0 GY 295 Door Lock Actuator Lock Control
1.0 GY 295 Door Lock Actuator Lock Control
35 0.8 RD/WH 340 Battery Positive Voltage
36 0.5 PK 1139 Ignition Voltage
37 0.35 TN 28 Horn Relay Control
38 0.35 L-BU 5986 Serial Data Communication Enable
39 0.8 OG 1732 Courtesy Lamps Supply Voltage
40 0.8 RD/WH 1240 Battery Positive Voltage
41 0.35 L-BU 5921 Driver Door Unlock Relay Control
42 0.35 L-GN 1391 Driver Door Unlock Relay Control
43 2.0 RD/BK 742 Battery Positive Voltage
44 - - Not Used
45 5.0 RD/BK 242 Battery Positive Voltage
46 2.0 PU 293 Rear Defog Element Supply Voltage
47 2.0 RD/WH 2040 Battery Positive Voltage
A 1.0 RD/WH 640 Battery Positive Voltage
B 0.35 RD/WH 840 Battery Positive Voltage (ASF, KA1)
0.35 RD/WH 840 Battery Positive Voltage (-ATY, KA1)
0.35 RD/WH 840 Battery Positive Voltage (-ASF-ATY-KA1)
0.35 RD/WH 840 Battery Positive Voltage (KA1-ASF-ATY)
C 2.0 YE 143 Accessory Voltage
Connector Part Information 
  • OEM: 6098-5229
  • Service: 88988710
  • Description: 50-Way F LIF Series (BK)
Terminal Part Information 
  • Pins: 1, 34
  • Terminal/Tray: 15304713/19
  • Core/Insulation Crimp: See Terminal Repair Kit
  • Release Tool/Test Probe: 15315247/J-35616-4A (PU)
  • Pins: 43-44, 46-47, C
  • Terminal/Tray: 7116-4121-02/10
  • Core/Insulation Crimp: C/B
  • Release Tool/Test Probe: 12094430/J-35616-42 (RD)
  • Pins: 45
  • Terminal/Tray: 7116-4122-02/10
  • Core/Insulation Crimp: D/G
  • Release Tool/Test Probe: 12094430/J-35616-42 (RD)
  • Pins: 2-3, 11-14, 22-24, 35, A, B
  • Terminal/Tray: 15304711/8
  • Core/Insulation Crimp: Pins 2-3, 11-13, 23, 24, 35, A - 2/A
  • Core/Insulation Crimp: Pins 14, 22, B, B - E/A
  • Release Tool/Test Probe: 15315247/J-35616-4A (PU)
  • Pins: 4-6, 8-9, 15-16, 18-21, 22-29-32, 36-42
  • Terminal/Tray: 12191812/19
  • Core/Insulation Crimp: Pins 4, 6, 8-9, 15, 18-21, 2-29, 31, 32, 36-38, 41, 42 - E/C
  • Core/Insulation Crimp: Pins 5, 16, 30, 39, 40 - C/A
  • Release Tool/Test Probe: 15315247/J-35616-2A (GY)