LEMON Manuals: Even more car manuals for everyone: 1960-2025
Home >> Pontiac >> 2009 >> G8 Base >> Repair and Diagnosis (Single Page) >> Quick Lookups >> Electrical Component Locations >> Wiring Systems And Power Management - Electrical Center, Ground & Component Connector End Views >> Component Connector End Views >> Electronic Brake Control Module (EBCM)
April 5, 2026: LEMON Manuals is launched! Read the announcement.

Electronic Brake Control Module (EBCM)

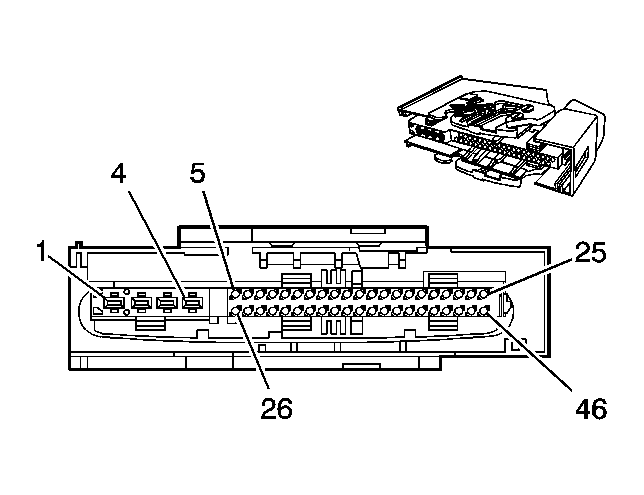
Fig 1: Electronic Brake Control Module (EBCM) Connector End View
GM2091099Courtesy of GENERAL MOTORS CORP.
Electronic Brake Control Module (EBCM)

Pin Wire Color Circuit No. Function
1 3 BK 350 Ground
2 3 RD/BK 142 Battery Positive Voltage
3 2 OG 3540 Battery Positive Voltage
4 2 BK 350 Ground
5 0.5 L-BU 830 Left Front Wheel Speed Sensor Signal
6 0.5 GY 7127 Wheel Speed Sensor Supply Voltage Left Rear
7 0.5 GY 7128 Wheel Speed Sensor Supply Voltage Right Rear
8 0.5 BN 882 Right Rear Wheel Speed Sensor Signal
9 0.5 GY 7065 Wheel Speed Sensor Supply Voltage Right Front
10 0.5 D-GN 872 Wheel Speed Sensor Signal Right Front
11-13 - - Not Used
14 0.5 BN 9003 High Speed GMLAN Serial Data Bus- (LY7)
0.5 BN 9005 High Speed GMLAN Serial Data Bus- (L76)
15 0.5 BK/BU 2088 Steering Wheel Position Sensor Low Reference
16 0.5 BN/WH 2086 Yaw Rate Sensor Test Control
17 - - Not Used
18 0.5 D-GN 2087 Steering Wheel Position Sensor 5-V Reference
19 - - Not Used
20 0.5 PU/WH 1699 Combined Vehicle Inertial Sensor Signal
21-24 - - Not Used
25 0.5 BN 9001 High Speed GMLAN Serial Data Bus- (LY7)
0.5 BN 9003 High Speed GMLAN Serial Data Bus- (L76)
26 0.5 GY 7064 Wheel Speed Sensor Supply Voltage Left Front
27 0.5 BN/BK 884 Left Rear Wheel Speed Sensor Signal
28 0.75 L-BU 5986 Communication Enable Relay Supply Voltage
29-34 - - Not Used
35 0.5 BN/BK 9002 High Speed GMLAN Serial Data Bus+ (LY7)
0.5 BN/BK 9004 High Speed GMLAN Serial Data Bus+ (L76)
36 - - Not Used
37 0.5 L-GN/BK 5352 Yaw Rate Sensor Test Control
38-44 - - Not Used
45 0.5 BN/BK 9000 High Speed GMLAN Serial Data Bus+ (LY7)
0.5 BN/BK 9002 High Speed GMLAN Serial Data Bus+ (L76)
46 - - Not Used
Connector Part Information 
  • OEM: 7229-2512-30
  • Service: See Catalog
  • Description: 46-Way F (BK)
Terminal Part Information 
  • Pins: 1, 2
  • Terminal/Tray: 1-968859-3/7
  • Core/Insulation Crimp: A/3
  • Release Tool/Test Probe: 12093647/J-35616-4A (PU)
  • Pins: 3, 4
  • Terminal/Tray: 1-968857-3/7
  • Core/Insulation Crimp: C/1
  • Release Tool/Test Probe: 12093647/J-35616-4A (PU)
  • Pins: 5-10, 14-16, 18, 20, 25-27, 35, 37. 45
  • Terminal/Tray: 1928498014/17
  • Core/Insulation Crimp: N/N
  • Release Tool/Test Probe: J-38125-560/J-35616-64B (L-BU)
  • Pins: 28
  • Terminal/Tray: 1928498014/17
  • Core/Insulation Crimp: N/N
  • Release Tool/Test Probe: J-38125-560/J-35616-64B (L-BU)