LEMON Manuals: Even more car manuals for everyone: 1960-2025
Home >> Pontiac >> 2009 >> G8 Base >> Repair and Diagnosis (Single Page) >> Quick Lookups >> Electrical Component Locations >> Wiring Systems And Power Management - Electrical Center, Ground & Component Connector End Views >> Component Connector End Views >> HVAC Control Module X1
April 5, 2026: LEMON Manuals is launched! Read the announcement.

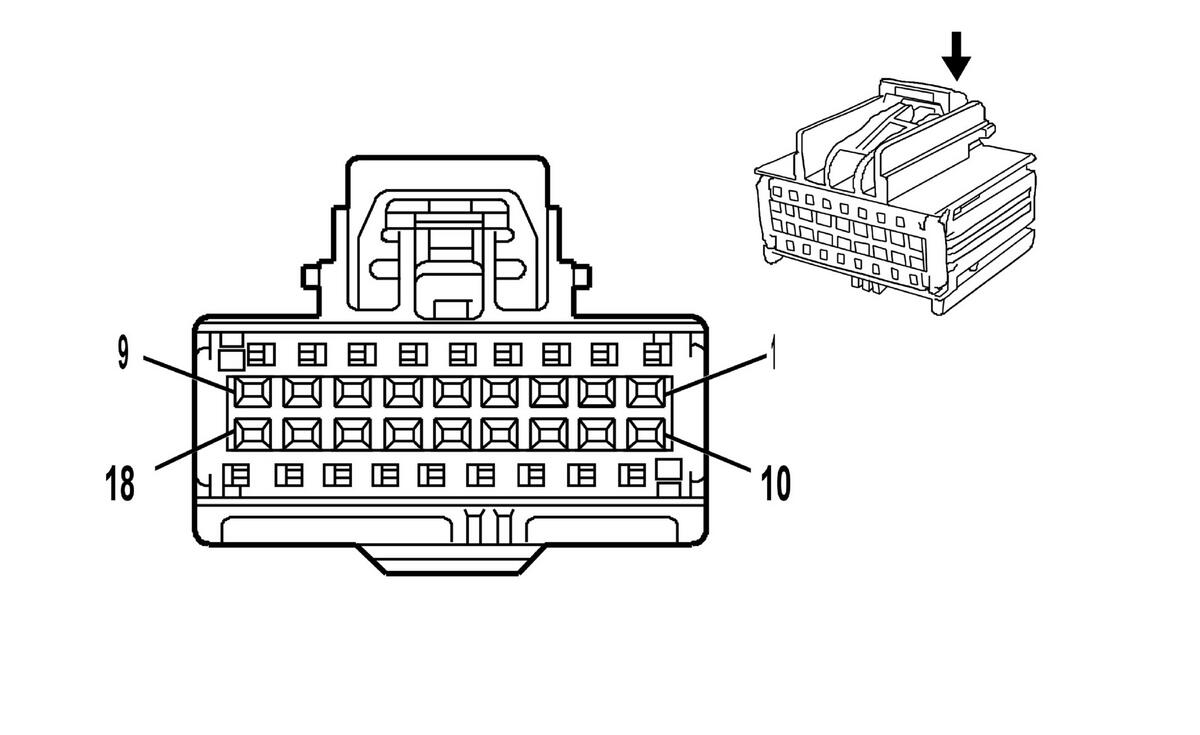
HVAC Control Module X1

Fig 1: HVAC Control Module X1 Connector End View
GM1664585Courtesy of GENERAL MOTORS CORP.
HVAC Control Module X1

Pin Wire Color Circuit No. Function
1 0.3 L-GN/BK 735 Ambient Air Temperature Sensor Signal (CJ2)
2 0.3 D-GN 734 Inside Air Temperature Sensor Signal (CJ2)
3 0.3 WH/BU 193 Rear Defog Relay Control
4 0.3 YE 1649 Blower Motor Relay Supply Voltage
5 0.5 GY/BK 754 Blower Motor Speed Control
6 0.5 D-BU 7393 A/C Compressor Clutch Low Reference
7 0.5 D-GN 7392 A/C Compressor Clutch Supply Voltage
8 0.35 D-GN 9207 Low Speed GMLAN Serial Data
9 0.5 PK 1039 Ignition 1 Voltage
10 0.85 BK 850 Ground
11 0.3 BN 61 Low Reference (CJ2)
12 0.3 L-BU/BK 7425 Left Solar Sensor (CJ2)
13 0.3 GY 7424 Right Solar Sensor (CJ2)
14-17 - - Not Used
18 0.75 OG/GN 2240 Battery Positive Voltage
Connector Part Information 
  • OEM: 7283-4544-30
  • Service: See Catalog
  • Description: 18-Way F (BK)
Terminal Part Information 
  • Terminal/Tray: See Terminal Repair Kit
  • Core/Insulation Crimp: See Terminal Repair Kit
  • Release Tool/Test Probe: See Terminal Repair Kit