LEMON Manuals: Even more car manuals for everyone: 1960-2025
Home >> Pontiac >> 2009 >> G8 Base >> Repair and Diagnosis (Single Page) >> Quick Lookups >> Electrical Component Locations >> Wiring Systems And Power Management - Electrical Center, Ground & Component Connector End Views >> Component Connector End Views >> Heated Seat Control Module - Driver (KA1)
April 5, 2026: LEMON Manuals is launched! Read the announcement.

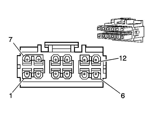
Heated Seat Control Module - Driver (KA1)

Fig 1: Heated Seat Control Module - Driver (KA1) Connector End View
GM1519708Courtesy of GENERAL MOTORS CORP.
Heated Seat Control Module - Driver (KA1)

Pin Wire Color Circuit No. Function
1 - - Not Used
2 0.5 RD/YE 2050 Low Reference
3 0.5 PK 1339 Ignition 1 Voltage
4 PU/GN - Low Reference
5 0.35 BN 1661 Driver Heated Seat High Temperature Indicator Control
6 0.35 OG/BK 6177 Passenger Heated Seat Intermediate Signal
7 - - Not Used
8 0.5 D-GN/RD 2077 Heated Seat Cushion Element Supply Voltage
9 0.35 PK/OG 1501 Driver Heated Seat High/Low Signal
10 - - Not Used
11 0.35 WH/YE 1662 Driver Heated Seat Low Temperature Indicator Control
12 0.35 WH/BK 2079 Heated Seat Cushion Temperature Sensor Signal
Connector Part Information 
  • OEM: 15-97-5121
  • Service: See Catalog
  • Description: 12-Way F Mini-Fit Series (BK)
Terminal Part Information 
  • Terminal/Tray: See Terminal Repair Kit
  • Core/Insulation Crimp: See Terminal Repair Kit
  • Release Tool/Test Probe: See Terminal Repair Kit