LEMON Manuals: Even more car manuals for everyone: 1960-2025
Home >> Pontiac >> 2009 >> G8 Base >> Repair and Diagnosis (Single Page) >> Quick Lookups >> Electrical Component Locations >> Wiring Systems And Power Management - Electrical Center, Ground & Component Connector End Views >> Component Connector End Views >> Sunroof Control Module (CF5)
April 5, 2026: LEMON Manuals is launched! Read the announcement.

Sunroof Control Module (CF5)

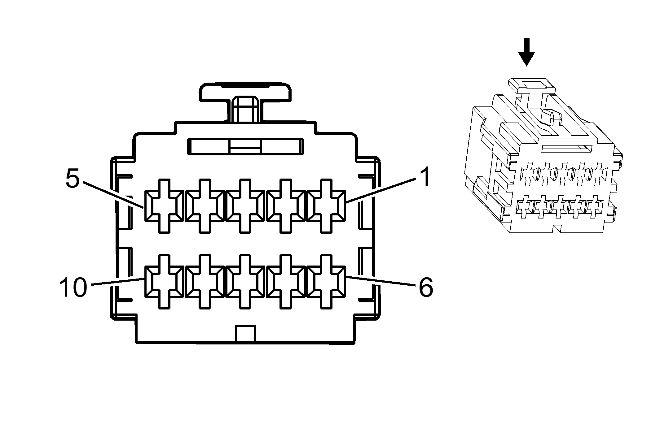
Fig 1: Sunroof Control Module (CF5) Sunroof Control Module (CF5)
GM1989581Courtesy of GENERAL MOTORS CORP.
Sunroof Control Module (CF5)

Pin Wire Color Circuit No. Function
1 1.25 BK 850 Ground
2 0.3 D-GN 5027 Sunroof Switch - Data 1
3 0.3 YE 5028 Sunroof Switch - Data 2
4 0.3 OG 5029 Sunroof Switch - Data 3
5 0.3 WH 5030 Sunroof Switch - Data 4
6 1.25 OG/BU 3040 Battery Voltage Supply
7-8 - - Not Used
9 0.5 YE 443 Ignition Voltage 1
10 - - Not Used
  • OEM: 18101EV
  • Service: See Catalog
  • Description: 10-Way F
Terminal Part Information 
  • Terminal/Tray: See Terminal Repair Kit
  • Core/Insulation Crimp: See Terminal Repair Kit
  • Release Tool/Test Probe: See Terminal Repair Kit