LEMON Manuals: Even more car manuals for everyone: 1960-2025
Home >> Pontiac >> 2009 >> G8 Base >> Repair and Diagnosis >> External Pages >> Different car >> Section 475 (Wiring Systems And Power Management - Component Connector End Views - Radio Antenna Module Through Yaw Sensor) >> Component Connector End Views >> Transmission Control Module (TCM)
April 5, 2026: LEMON Manuals is launched! Read the announcement.

Transmission Control Module (TCM)

WARNING: This page is about a different car, the 2011 Cadillac DTS. However, it is still accessible from the selected car via links, so may be relevant.
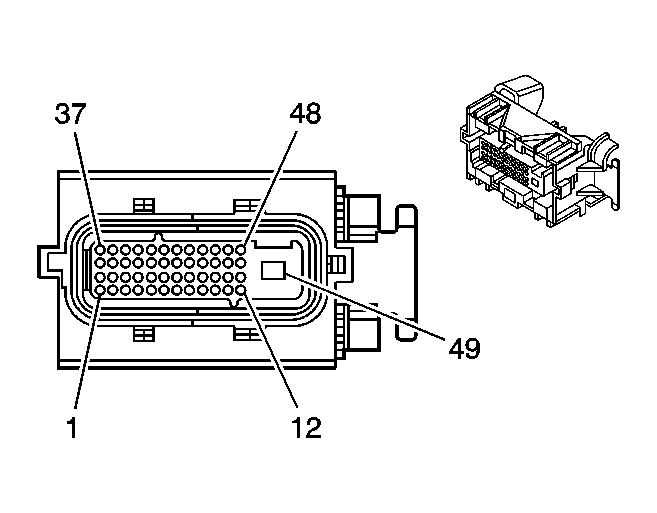
Fig 1: Transmission Control Module (TCM) Connector End View
GM1664621Courtesy of GENERAL MOTORS COMPANY
Transmission Control Module (TCM)

Pin Wire Circuit Function
1 0.35 TN 418 TCC Solenoid Valve Control
2 0.35 L-GN 1222 Shift Solenoid Valve Control A
3 0.35 OG 1230 ISS High Signal
4-5 - - Not Used
6 0.35 BN 2501 High Speed GMLAN Serial Data Bus -
7 0.35 BN/BK 2500 High Speed GMLAN Serial Data Bus +
8-10 - - Not Used
11 0.5 BU/WH 5985 Accessory Wake-up Serial Data
12-15 - - Not Used
16 0.5 PU 401 OSS Low Signal
17 0.35 L-BU/WH 1229 PC Solenoid Valve Low Control
18-19 - - Not Used
20 0.35 GN 1223 Shift Solenoid Valve Control B
21-22 - - Not Used
23 0.35 GY 773 Transmission Range Switch Signal C
24-25 - - Not Used
26 0.35 BU/WH 1231 ISS Low Signal
27-28 - - Not Used
29 0.35 BN/WH 771 Transmission Range Switch Signal A
30 0.35 BN 2762 TFT Sensor Low Reference
31 0.5 PK 539 Ignition 1 Voltage
32 0.5 RD/WH 540 Battery Positive Voltage
33-34 - - Not Used
35 0.35 YE/BK 1227 TFT Sensor Signal
36 - - Not Used
37 0.35 BN 2501 High Speed GMLAN Serial Data Bus -
38 0.35 BN/BK 2500 High Speed GMLAN Serial Data Bus +
39 0.35 WH 776 Transmission Range Switch Signal P
40 0.35 OG/BK 1228 PC Solenoid Valve High Control
41 0.5 YE/GY 400 OSS High Signal
42 0.5 WH 17 Stop Lamp Switch Signal
43-45 - - Not Used
46 0.35 YE 772 Transmission Range Switch Signal B
47-48 - - Not Used
49 2 BK/WH 1551 Ground
Connector Part Information
  • Harness Type: Engine
  • OEM Connector: 13511977
  • Service Connector: 88987979
  • Description: 49-Way F (BK)

Terminal Part Information
  • Pins: 1 - 48
  • Terminal/Tray: 15359541/4
  • Core/Insulation Crimp: M/M
  • Release Tool/Test Probe: 15381651-2/J-35616-64B (L-BU)
  • Pin 49
  • Terminal/Tray: Pending
  • Core/Insulation Crimp: Pending
  • Release Tool/Test Probe: Pending