LEMON Manuals: Even more car manuals for everyone: 1960-2025
Home >> Pontiac >> 2009 >> G8 V8-6.0L >> Repair and Diagnosis >> Diagrams >> Connector Views >> Engine Control Module >> Engine Control Module (ECM) X2
April 5, 2026: LEMON Manuals is launched! Read the announcement.

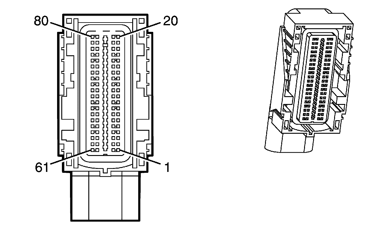
Engine Control Module (ECM) X2




Component Connector End Views

Engine Control Module (ECM) (L76) X2