LEMON Manuals: Even more car manuals for everyone: 1960-2025
Home >> Pontiac >> 2009 >> G8 V8-6.2L >> Repair and Diagnosis >> Diagrams >> Exploded Views >> Engine
April 5, 2026: LEMON Manuals is launched! Read the announcement.

Engine




Disassembled Views (6.2L LS3)

Intake Manifold/Upper Engine




1 - Evaporative Emission (EVAP) Canister Purge Tube
2 - EVAP Canister Purge Solenoid Valve
3 - EVAP Tube Clip
4 - EVAP Canister Purge Tube
5 - EVAP Purge Valve Bracket
6 - Bolt
7 - Bolt
8 - Fuel Rail Ground Strap
9 - Fuel Rail with Injectors
10 - Bolt
11 - Fuel Injection Fuel Rail Stop Bracket
12 - Intake Manifold
13 - Seal
14 - Intake Manifold Gasket
15 - Engine Coolant Air Bleed Plug
16 - Oil Pressure Sensor
17 - Washer
18 - Bolt
19 - Valley Cover
20 - Valley Cover Gasket
21 - Engine Block
22 - Seal
23 - Positive Crankcase Ventilation (PCV) Hose - Dirty Air
24 - Seal
25 - Engine Coolant Air Bleed Pipe
26 - Bolt
27 - Bolt
28 - Throttle Body
29 - Throttle Body Gasket
30 - Seal
31 - Manifold Absolute Pressure (MAP) Sensor
32 - MAP Sensor Bolt

Cylinder Head/Upper Engine




100 - Engine Block
209 - Valve Lifter
210 - Valve Lifter Guide
211 - Bolt
212 - Pushrod
213 - Valve Rocker Arm
214 - Bolt
215 - Valve Rocker Arm Pivot Support
216 - Core Hole Plug
217 - Cylinder Head Gasket
218 - Cylinder Head
220 - Cylinder Head Bolt - M11
221 - Cylinder Head Bolt - M8
222 - Valve Stem Oil Seal
223 - Valve Spring
224 - Valve Spring Cap
225 - Valve Stem Key
226 - Core Hole Plug
227 - Intake Valve
228 - Exhaust Valve
229 - Cylinder Head Plug
230 - Cylinder Head Locating Pin
422 - O-Ring
423 - Oil Fill Tube
424 - Oil Fill Cap
450 - O-Ring
504 - Valve Rocker Arm Cover Gasket
504 - Valve Rocker Arm Cover Gasket
505 - Valve Rocker Arm Cover
505 - Valve Rocker Arm Cover
515 - Bolt Grommet
516 - Bolt
558 - Plug
600 - Exhaust Manifold
601 - Exhaust Manifold Gasket
602 - Bolt
603 - Exhaust Manifold Heat Shield
604 - Bolt
605 - Stud
700 - Positive Crankcase Ventilation (PCV) Hose - Fresh Air
719 - Ignition Coil Bracket
720 - Stud
721 - Ignition Coil Wire Harness Assembly
722 - Ignition Coil
723 - Bolt
724 - Spark Plug Wire
725 - Coolant Temperature Sensor (CTS)
726 - Spark Plug

Front of Engine




1 - Bolt
2 - Water Inlet Housing
3 - O-Ring
4 - Thermostat
5 - Bolt
6 - Water Pump
7 - Water Pump Gasket
8 - Oil Level Indicator
9 - O-Ring
10 - Bolt
11 - Oil Level Indicator Tube
12 - O-Ring
13 - Engine Block
14 - Camshaft Bearings
15 - Camshaft
16 - Camshaft Sprocket Locating Pin
17 - Crankshaft Sprocket
18 - Crankshaft Balancer Washer
19 - Camshaft Retainer
20 - Bolt
21 - Camshaft Sprocket
22 - Bolt
23 - Timing Chain
24 - Timing Chain Tensioner
25 - Bolt
26 - Engine Front Cover Gasket
27 - Engine Front Cover
28 - Bolt
29 - Crankshaft Front Oil Seal
30 - Crankshaft Balancer
31 - Bolt
32 - Balance Weight - Crankshaft Balancer
33 - Bolt
34 - Camshaft Position (CMP) Sensor
35 - O-Ring
36 - Bolt
37 - CMP Sensor Wire Harness
38 - Bolt
39 - Oil Pump
40 - Bolt
41 - Oil Pump Housing Cover
42 - Oil Pump Drive Gear
43 - Oil Pump Driven Gear
44 - Oil Pump Housing Plug
45 - Oil Pump Pressure Relief Valve Spring
46 - Oil Pump Pressure Relief Valve
47 - Bolt
48 - O-Ring
49 - Nut
50 - Oil Pump Screen

Rear of Engine




100 - Engine Block
123 - Transmission Pilot Bearing - Manual Transmission
132 - Flex Plate - Automatic Transmission
133 - Bolt
134 - Flywheel - Manual Transmission
135 - Clutch Driven Plate - Manual Transmission
136 - Clutch Pressure Plate - Manual Transmission
137 - Bolt
141 - Crankshaft Rear Oil Seal
142 - Clutch Pressure Plate Locating Pin - Manual Transmission
144 - Balance Weight - Flywheel
517 - Bolt
518 - Crankshaft Rear Oil Seal Housing
519 - Crankshaft Rear Oil Seal Housing Gasket

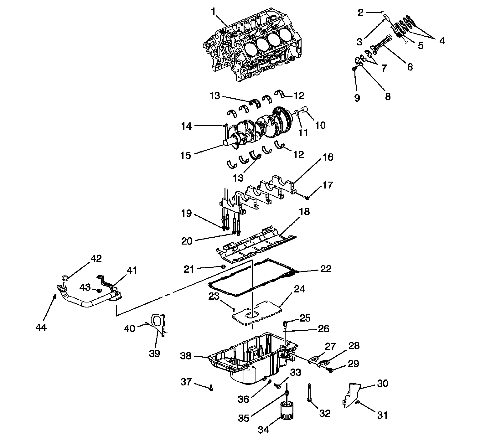
Lower Engine Assembly




1 - Engine Block
2 - Piston Pin Retainer
3 - Piston Pin
4 - Piston Ring Set
5 - Piston
6 - Connecting Rod
7 - Connecting Rod Bearings
8 - Connecting Rod Cap
9 - Connecting Rod Bolt
10 - Transmission Pilot Bearing - Manual Transmission
11 - Plug
12 - Crankshaft Main Bearing
12 - Crankshaft Main Bearing
13 - Crankshaft Thrust Bearing
13 - Crankshaft Thrust Bearing
14 - Crankshaft Balancer Key
15 - Crankshaft
16 - Crankshaft Bearing Cap
17 - Crankshaft Bearing Cap Bolt - M8
18 - Crankshaft Oil Deflector
19 - Crankshaft Oil Deflector Stud - M10
20 - Crankshaft Oil Deflector Bolt - M10
21 - Nut
22 - Oil Pan Gasket
23 - Bolt
24 - Oil Pan Baffle
25 - Active Fuel Management Oil Pressure Relief Valve
26 - Washer
27 - Oil Pan Cover Gasket
28 - Oil Pan Cover
29 - Bolt
30 - Oil Pan Closeout Cover - Left
31 - Bolt
32 - Oil Pan Bolt - M6
33 - Oil Pan Drain Plug
34 - Oil Filter
35 - Oil Filter Fitting
36 - O-Ring
37 - Oil Pan Bolt - M8
38 - Oil Pan
39 - Engine Closeout Cover - Right
40 - Bolt
41 - Oil Pump Screen
42 - O-Ring
43 - Nut
44 - Bolt

Engine Block Plugs/Sensors




100 - Engine Block
100 - Engine Block
101 - Oil Gallery Plug - Front
110 - O-Ring
111 - Oil Gallery Plug - Rear
112 - Oil Gallery Plug - Side
113 - Washer
114 - Engine Coolant Heater
115 - Washer
116 - Oil Gallery Plug - Side
117 - Washer
130 - Transmission Housing Locating Pin
145 - Washer
146 - Engine Block Coolant Drain Hole Plug
701 - Crankshaft Position (CKP) Sensor
702 - O-Ring
718 - Knock Sensor
718 - Knock Sensor
739 - Bolt
739 - Bolt
750 - CKP Sensor Bolt

Oil Pump Assembly




408 - Bolt
409 - Oil Pump Housing Cover
410 - Oil Pump Drive Gear
412 - Oil Pump Driven Gear
413 - Oil Pump
414 - Oil Pump Pressure Relief Valve
415 - Oil Pump Pressure Relief Valve Spring
416 - Oil Pump Housing Plug