LEMON Manuals: Even more car manuals for everyone: 1960-2025
Home >> Pontiac >> 2009 >> Torrent AWD V6-3.4L >> Repair and Diagnosis >> Body and Frame >> Seats >> Seat Temperature Control Module >> Locations
April 5, 2026: LEMON Manuals is launched! Read the announcement.

Seat Temperature Control Module: Locations




Passenger Compartment/Roof Component Views

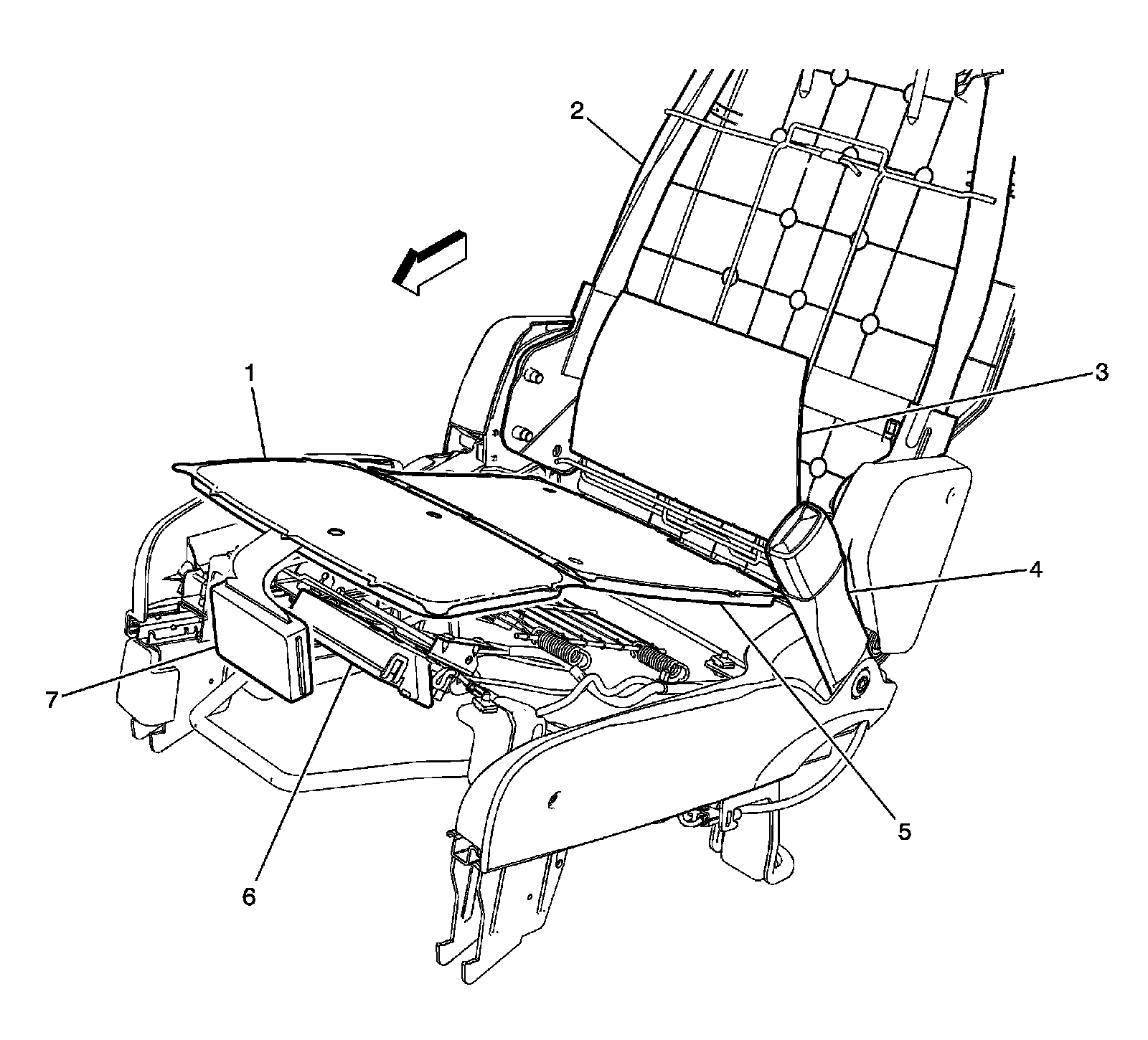
Manual Passenger Seat Components




1 - Inflatable Restraint Front Passenger Presence System (PPS) Sensor
2 - Seat Frame
3 - Heated Seat Element - Passenger Back (KA1)
4 - Seat Belt Buckle - Passenger
5 - Heated Seat Element - Passenger Cushion (KA1)
6 - Heated Seat Control Module (KA1)
7 - Inflatable Restraint Front Passenger Presence System (PPS) Module