LEMON Manuals: Even more car manuals for everyone: 1960-2025
Home >> Pontiac >> 2009 >> Torrent AWD V6-3.6L >> Repair and Diagnosis >> Diagrams >> Exploded Views >> Automatic Transmission/Transaxle >> AF33-5 Automatic Transaxle >> Middle Control Valve Body Assembly
April 5, 2026: LEMON Manuals is launched! Read the announcement.

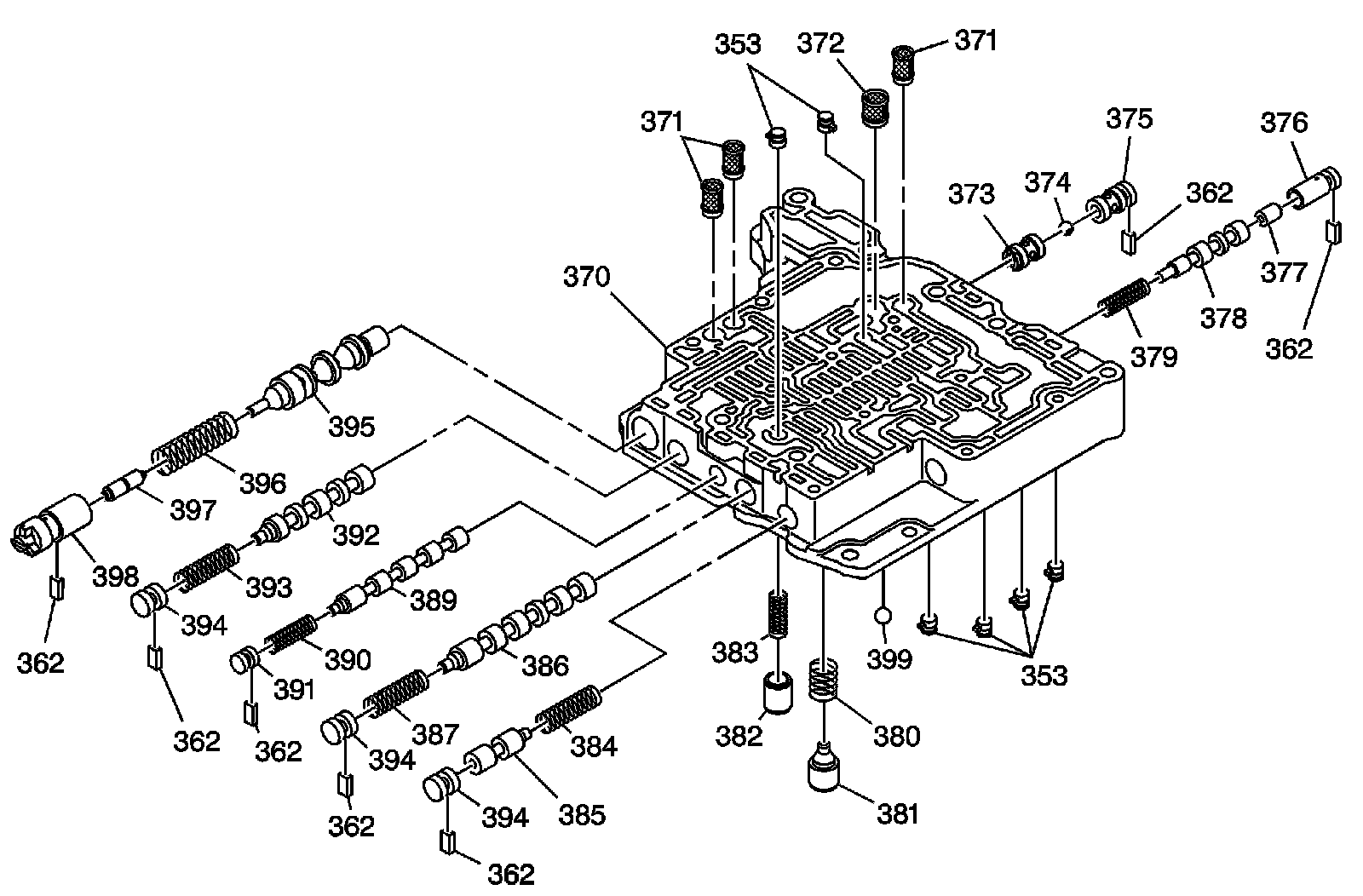
Middle Control Valve Body Assembly




Disassembled Views

Middle Control Valve Body Assembly




353 - Accumulator Check Valve Assembly (6)
353 - Accumulator Check Valve Assembly (7)
362 - Sleeve/Bore Plug Retainer (3.2 x 5 x 12.5) (7)
362 - Sleeve/Bore Plug Retainer (3.2 x 5 x 12.5) (7)
362 - Sleeve/Bore Plug Retainer (3.2 x 5 x 12.5) (7)
362 - Sleeve/Bore Plug Retainer (3.2 x 5 x 12.5) (7)
362 - Sleeve/Bore Plug Retainer (3.2 x 5 x 12.5) (7)
362 - Sleeve/Bore Plug Retainer (3.2 x 5 x 12.5) (7)
362 - Sleeve/Bore Plug Retainer (3.2 x 5 x 12.5) (7)
370 - Middle Control Valve Body
371 - Fluid Strainer (3)
371 - Fluid Strainer (3)
372 - Fluid Strainer
373 - Reverse Shift Ball Check Valve Bushing - Inner
374 - Reverse Shift Ball Check Valve
375 - Reverse Shift Ball Check Valve Bushing - Outer
376 - Solenoid Relay Valve Sleeve
377 - Solenoid Relay Valve Plunger
378 - Solenoid Relay Valve
379 - Solenoid Relay Valve Spring - Orange
380 - Cooler By-Pass Valve Spring - Natural Color
381 - Cooler By-Pass Valve
382 - TCC Check Valve
383 - TCC Check Valve Spring - Yellow
384 - 3rd Gear Band (B4) Release Valve Spring - Blue
385 - 3rd Gear Band (B4) Release Valve
386 - U1 Shift Valve
387 - U1 Shift Valve Spring - Light Green
389 - M1 Shift Valve
390 - M1 Shift Valve Spring - Light Blue
391 - M1 Shift Valve Bore Plug
392 - U2 Shift Valve
393 - U2 Shift Valve Spring - Light Green
394 - U2 Shift Valve Bore Plug (3)
394 - U2 Shift Valve Bore Plug (3)
394 - U2 Shift Valve Bore Plug (3)
395 - Primary Regulator Valve
396 - Primary Regulator Valve Spring - Purple
397 - Primary Regulator Valve Plunger
398 - Primary Regulator Valve Sleeve
399 - Forward Clutch Check Ball