LEMON Manuals: Even more car manuals for everyone: 1960-2025
Home >> Pontiac >> 2009 >> Torrent AWD V6-3.6L >> Repair and Diagnosis >> Specifications >> Mechanical Specifications >> Engine >> System Specifications >> Thread Repair Specifications
April 5, 2026: LEMON Manuals is launched! Read the announcement.

Thread Repair Specifications




Thread Repair Specifications

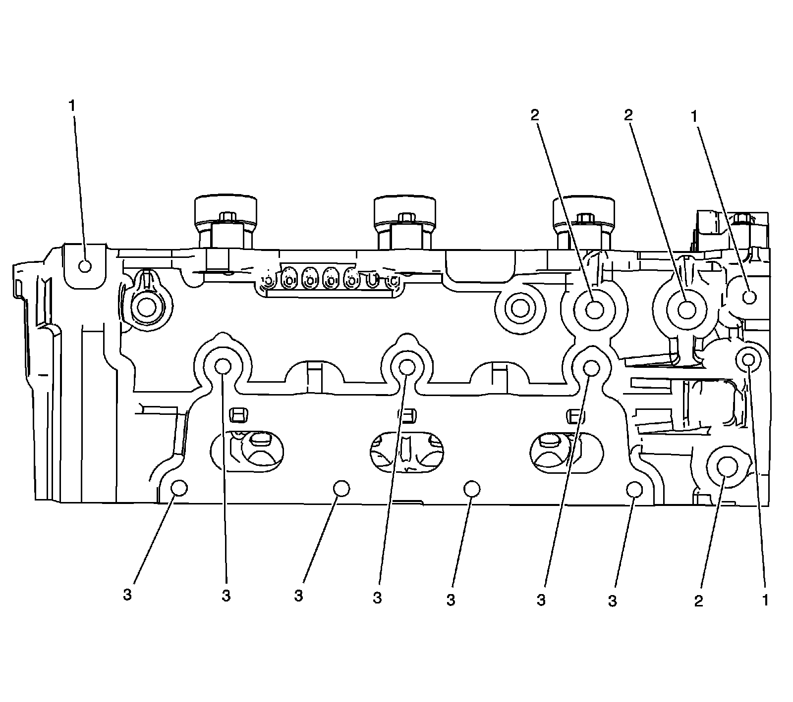
Left Cylinder Head Camshaft Cover Face









Left Cylinder Head Front Face









Left Cylinder Head Intake Face









Left Cylinder Head Exhaust Face









Left Cylinder Head Rear Face









Right Cylinder Head Camshaft Cover Face









Right Cylinder Head Front Face









Right Cylinder Head Intake Face









Right Cylinder Head Exhaust Face









Right Cylinder Head Rear Face









Engine Block Front









Engine Block Left Side









Engine Block Right Side









Engine Block Rear









Engine Block Bottom









Engine Block Left Deck Face









Engine Block Right Deck Face









Engine Front Cover









Upper Intake Manifold - Top









Upper Intake Manifold - Front









Lower Intake Manifold - Top









Oil Pan Front









Oil Pan Left Side









Oil Pan Right Side









Oil Pan Rear









Oil Pan Top