LEMON Manuals: Even more car manuals for everyone: 1960-2025
Home >> Pontiac >> 2009 >> Torrent Base, AWD >> Repair and Diagnosis (Single Page) >> Electrical >> Component Locations >> Wiring Systems And Power Management - Electrical Center & Component And Splice Pack Connector End Views >> Component Connector End Views >> Automatic Transmission Output Shaft Speed (OSS) Sensor (MH2/MH4)
April 5, 2026: LEMON Manuals is launched! Read the announcement.

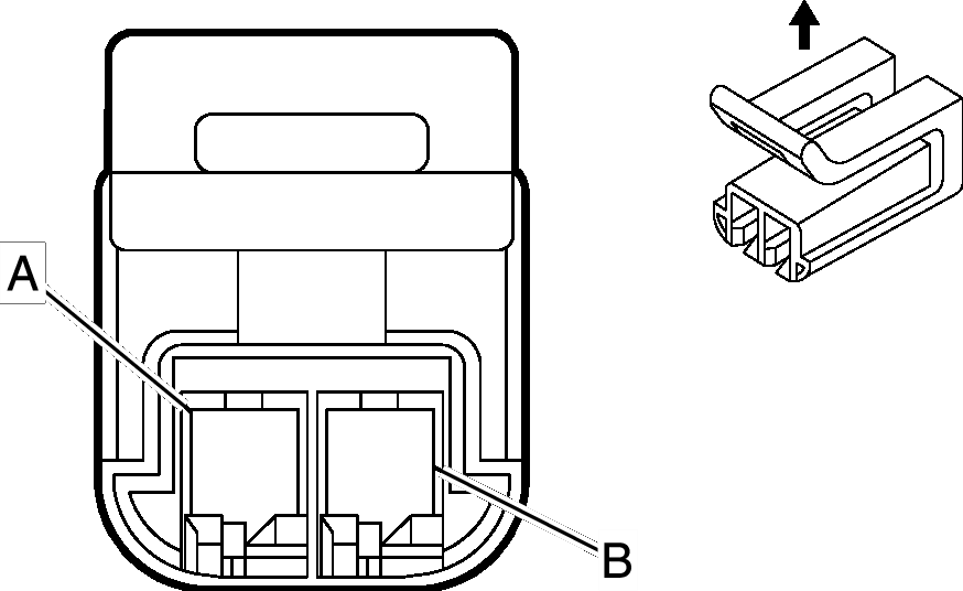
Automatic Transmission Output Shaft Speed (OSS) Sensor (MH2/MH4)

Fig 1: Automatic Transmission Output Shaft Speed (OSS) Sensor (MH2/MH4) Connector End View
GM1910666Courtesy of GENERAL MOTORS CORP.
Automatic Transmission Output Shaft Speed (OSS) Sensor (MH2/MH4)

Pin Wire Circuit Function
A 0.5 WH - Output Shaft Sensor (OSS) High Signal
B 0.5 BK - Output Speed Sensor (OSS) Low Signal
Connector Part Information 
  • OEM: 15473844
  • Service: Non-Serviceable
  • Description: 2-Way F Metri-Pack 150.2 Series P2S (L-GN)
Terminal Part Information 
  • Terminal/Tray: Non-Serviceable
  • Core/Insulation Crimp: Non-Serviceable
  • Release Tool/Test Probe: Non-Serviceable