LEMON Manuals: Even more car manuals for everyone: 1960-2025
Home >> Pontiac >> 2009 >> Vibe Base, 1.8 8, Automatic >> Repair and Diagnosis >> Engine Performance >> System >> Engine Control System & Fuel System - 1.8L (Lay) - Introduction >> Description and Operation >> Evaporative Emission Control System Description >> EVAP System Diagnostic Strategy
April 5, 2026: LEMON Manuals is launched! Read the announcement.

EVAP System Diagnostic Strategy

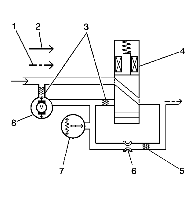
Fig 1: View Of EVAP System Components
GM1459492Courtesy of GENERAL MOTORS CORP.
Callout Component Name
1 Air and Vapor
2 Air
3 Filters
4 EVAP Canister Vent Solenoid Valve
5 Filter
6 Reference Orifice
7 Fuel Tank Pressure (FTP) Sensor
8 Vacuum Leak Pump Motor

During normal EVAP system operation the EVAP canister vent solenoid valve (4) is OPEN allowing the flow of fresh air (2) into the EVAP canister. If the EVAP canister purge valve is also OPEN, the fresh air will mix with vapors stored in the canister and flow (1) from the canister to the intake manifold. The FTP sensor (7) is used to monitor system operation and the vacuum leak pump (8) provides vacuum pressure for leak detection.

The PCM performs several diagnostic tests in order to determine if the EVAP system is functioning correctly or leaking. When certain operating criteria are met before engine shutdown, the PCM will run a comprehensive series of tests when the following conditions are met:

The internal timer responsible for the sequencing of the EVAP system diagnostic routine is monitored by the PCM. If the PCM detects a fault in the internal timer, a DTC P2610 will set.