LEMON Manuals: Even more car manuals for everyone: 1960-2025
Home >> Pontiac >> 2009 >> Vibe Base, 1.8 8, Automatic >> Repair and Diagnosis >> Engine Performance >> System >> Engine Control System & Fuel System - 1.8L (Lay) - Introduction >> Repair Instructions >> Knock Sensor Replacement >> Installation Procedure
April 5, 2026: LEMON Manuals is launched! Read the announcement.

Installation Procedure

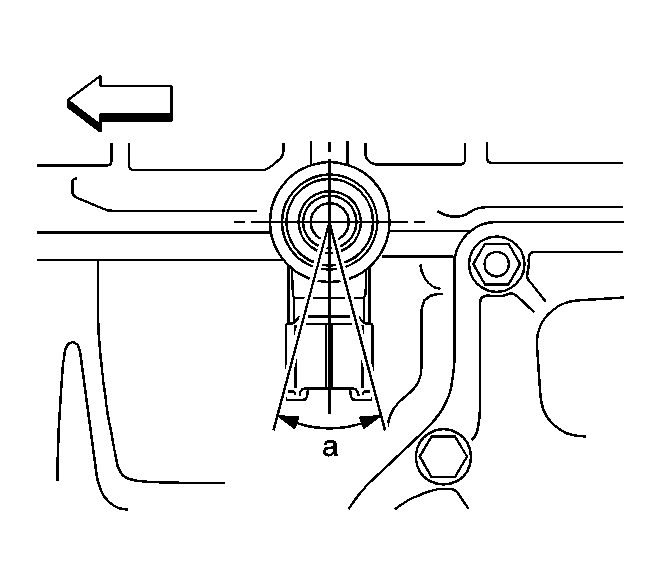
    Fig 1: Installing Knock Sensor
    GM2016665Courtesy of GENERAL MOTORS CORP.
    NOTE: Refer to Fastener Caution .
  1. Install the knock sensor with the bolt.

    Tighten:  Tighten the bolt to 20N.m (15 lb ft)

  2. Fig 2: Locating Knock Sensor Connector
    GM2016667Courtesy of GENERAL MOTORS CORP.
  3. Connect the knock sensor connector.
  4. Fig 3: View Of New Gasket, Intake Manifold And Intake Manifold Stay Bolts And Nuts
    GM2016659Courtesy of GENERAL MOTORS CORP.
  5. Install a new gasket, then install the intake manifold and intake manifold stay with the 4 bolts and 2 nuts.

    Tighten:  Tighten the bolts to 28N.m (21 lb ft)

  6. Fig 4: View Of Wire Harness Push Pins
    GM2016670Courtesy of GENERAL MOTORS CORP.
  7. Connect the 2 wire harness push pins.
  8. Fig 5: Identifying Throttle Body Wire Harness Clamps
    GM2016656Courtesy of GENERAL MOTORS CORP.
  9. Connect the 2 wire harness clamps.
  10. Fig 6: View Of Throttle Body Ventilation Hose
    GM2016655Courtesy of GENERAL MOTORS CORP.
  11. Connect the ventilation hose.
  12. Fig 7: Identifying Throttle Body Hoses
    GM2016653Courtesy of GENERAL MOTORS CORP.
  13. Connect the 2 hoses.
  14. Fig 8: View Of Wire Harness Clamp
    GM2016652Courtesy of GENERAL MOTORS CORP.
  15. Connect the wire harness clamp and install the wire harness bracket with the bolt.

    Tighten:  Tighten the bolt to 10N.m (8 lb in)

  16. Fig 9: Identifying Throttle Body Connector And Water By-Pass Hoses
    GM2016610Courtesy of GENERAL MOTORS CORP.
  17. Connect the 2 water by-pass hoses and the throttle body connector.
  18. Install the air cleaner cap sub-assembly with hose.
  19. CAUTION: Refer to Battery Disconnect Warning .
  20. Connect the cable to the negative battery terminal.
  21. Add engine coolant. Refer to Cooling System Draining and Filling .
  22. Inspect for a coolant leak.
  23. Install the engine cover. Refer to Engine Cover Replacement .