LEMON Manuals
: Even more car manuals for everyone: 1960-2025
Home
>>
Porsche
>>
1997
>>
911 Turbo
>>
Repair and Diagnosis
>>
Engine Performance
>>
Engine Controls - Specifications
>>
Ignition System
>>
Firing Order
>>
Notes
April 5, 2026:
LEMON Manuals is launched!
Read the announcement.
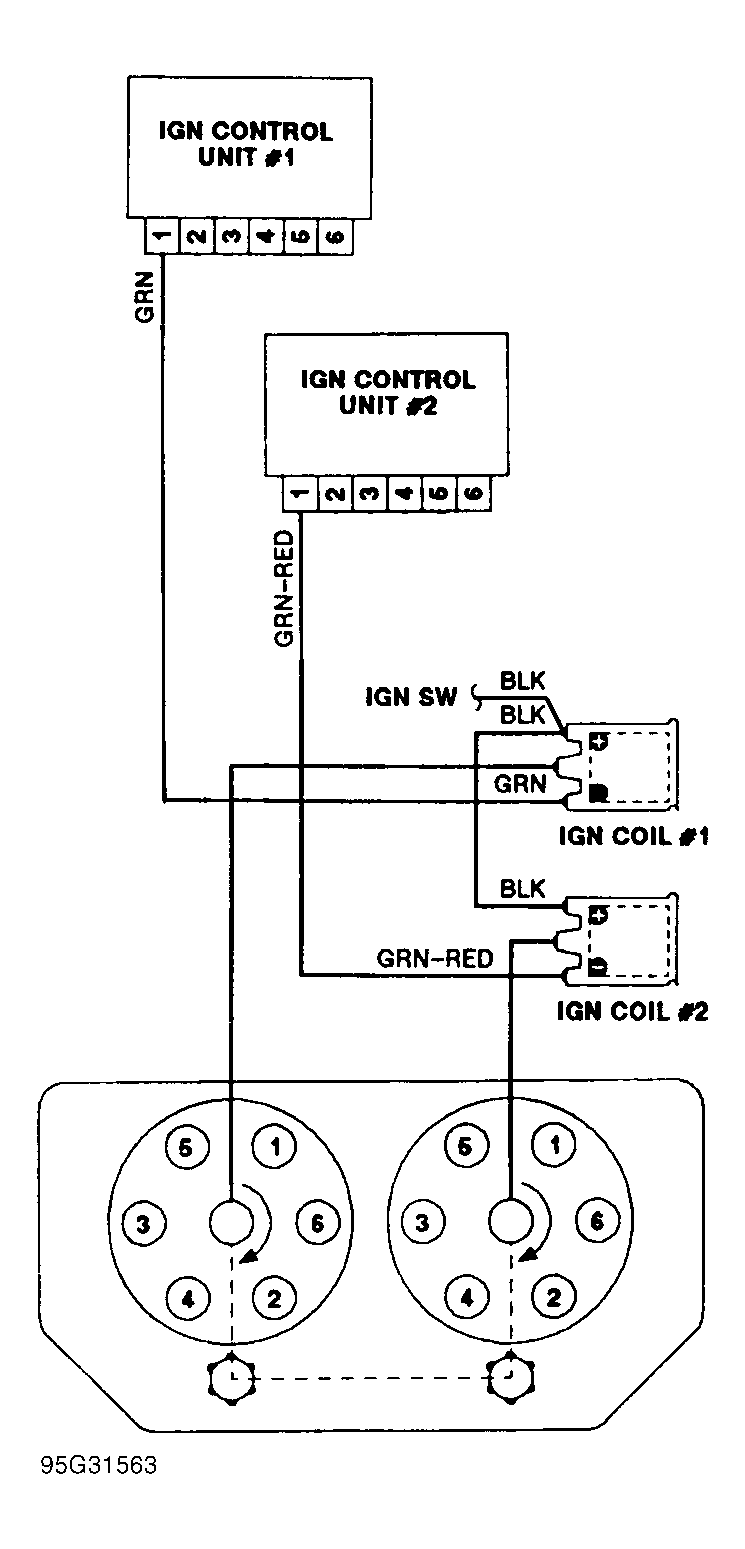
Firing Order: Notes
NOTE:
For 911 Carrera and 911 Carrera 4 firing order and distributor rotation, See
Figure
-
Figure
.