LEMON Manuals: Even more car manuals for everyone: 1960-2025
Home >> Saab >> 2002 >> 9-3 SE, 2D Convertible, Automatic >> Repair and Diagnosis >> Engine Performance >> System >> Engine Controls - System/Component Tests >> Component Location
April 5, 2026: LEMON Manuals is launched! Read the announcement.

Component Location

Fig 1: Temperature Sensor, Intake Air (9-3 - T7)
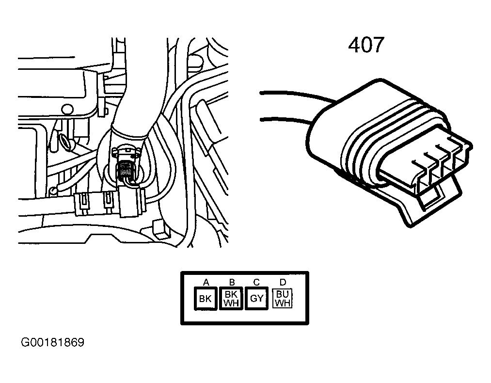
G00181869Courtesy of SAAB-SCANIA OF AMERICA, INC.
Fig 2: Temperature Sensor, Intake Air (9-3 - EDC15)
G00181870Courtesy of SAAB-SCANIA OF AMERICA, INC.
Fig 3: Temperature Sensor, Intake Air (9-3 - PSG16)
G00181871Courtesy of SAAB-SCANIA OF AMERICA, INC.
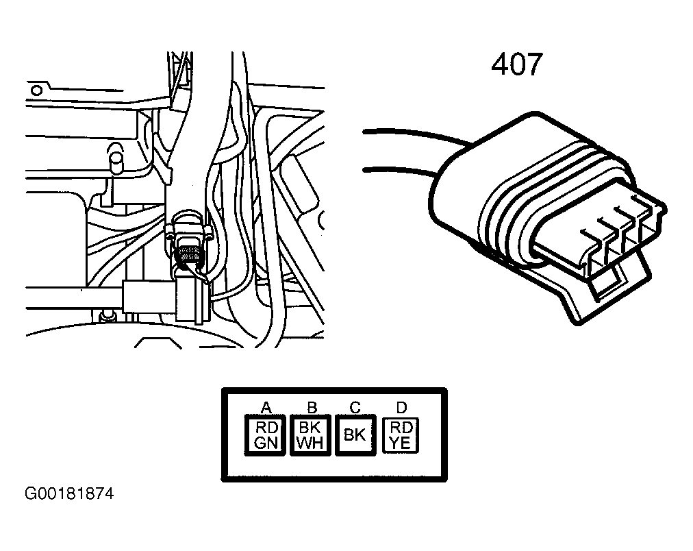
Fig 4: Temperature Sensor, Intake Air (9-5 - 4-Cyl)
G00181874Courtesy of SAAB-SCANIA OF AMERICA, INC.
Fig 5: Temperature Sensor, Intake Air (9-5 - V6)
G00181875Courtesy of SAAB-SCANIA OF AMERICA, INC.
Fig 6: Pressure Sensor, Intake Manifold (9-3 - T7)
G00181872Courtesy of SAAB-SCANIA OF AMERICA, INC.
Fig 7: Pressure Sensor, Intake Manifold (9-3 - PSG16)
G00181873Courtesy of SAAB-SCANIA OF AMERICA, INC.
Fig 8: Pressure Sensor, Intake Manifold (9-5 - 4-Cyl)
G00181876Courtesy of SAAB-SCANIA OF AMERICA, INC.
Fig 9: Pressure Sensor, Intake Manifold (9-5 - V6)
G00181877Courtesy of SAAB-SCANIA OF AMERICA, INC.
Fig 10: Position Sensor, Crankshaft (9-3 - T7)
G00181878Courtesy of SAAB-SCANIA OF AMERICA, INC.
Fig 11: Position Sensor, Crankshaft (9-3 - EDC15)
G00181879Courtesy of SAAB-SCANIA OF AMERICA, INC.
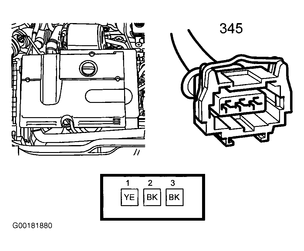
Fig 12: Position Sensor, Crankshaft (9-3 - PSG16)
G00181880Courtesy of SAAB-SCANIA OF AMERICA, INC.
Fig 13: Position Sensor, Crankshaft (9-5 - 4-Cyl)
G00181881Courtesy of SAAB-SCANIA OF AMERICA, INC.
Fig 14: Position Sensor, Crankshaft (9-5 - V6)
G00181882Courtesy of SAAB-SCANIA OF AMERICA, INC.
Fig 15: Actuator, Throttle Body (9-3)
G00181883Courtesy of SAAB-SCANIA OF AMERICA, INC.
Fig 16: Actuator, Throttle Body (9-5 - 4-Cyl)
G00181884Courtesy of SAAB-SCANIA OF AMERICA, INC.
Fig 17: Actuator, Throttle Body (9-5 - V6)
G00181885Courtesy of SAAB-SCANIA OF AMERICA, INC.
Fig 18: Purge Valve, EVAP Canister (9-3)
G00181886Courtesy of SAAB-SCANIA OF AMERICA, INC.
Fig 19: Purge Valve, EVAP Canister (9-5 - 4-Cyl)
G00181887Courtesy of SAAB-SCANIA OF AMERICA, INC.
Fig 20: Purge Valve, EVAP Canister (9-5 - V6)
G00181888Courtesy of SAAB-SCANIA OF AMERICA, INC.
Fig 21: Solenoid Valve, EVAP Shut-Off (9-3)
G00181889Courtesy of SAAB-SCANIA OF AMERICA, INC.
Fig 22: Solenoid Valve, EVAP Shut-Off (9-5)
G00181890Courtesy of SAAB-SCANIA OF AMERICA, INC.
Fig 23: Pressure Sensor, EVAP (9-3)
G00181891Courtesy of SAAB-SCANIA OF AMERICA, INC.
Fig 24: Pressure Sensor, EVAP (9-5)
G00181892Courtesy of SAAB-SCANIA OF AMERICA, INC.
Fig 25: Heater Element, Front Oxygen Sensor (9-3)
G00181893Courtesy of SAAB-SCANIA OF AMERICA, INC.
Fig 26: Heater Element, Rear Oxygen Sensor (9-3)
G00181894Courtesy of SAAB-SCANIA OF AMERICA, INC.
Fig 27: Heater Element, Oxygen Sensor (9-5 - 4-Cyl)
G00181895Courtesy of SAAB-SCANIA OF AMERICA, INC.
Fig 28: Heater Element, Front OBDII Oxygen Sensor (9-5 - 4-Cyl)
G00181896Courtesy of SAAB-SCANIA OF AMERICA, INC.
Fig 29: Heater Element, Rear OBDII Oxygen Sensor (9-5 - 4-Cyl)
G00181897Courtesy of SAAB-SCANIA OF AMERICA, INC.
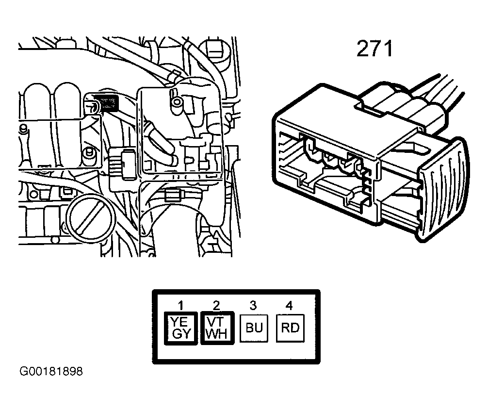
Fig 30: Heater Element, Oxygen Sensor (9-5 - V6)
G00181898Courtesy of SAAB-SCANIA OF AMERICA, INC.
Fig 31: Heater Element, Front OBDII Oxygen Sensor (9-5 - V6)
G00181899Courtesy of SAAB-SCANIA OF AMERICA, INC.
Fig 32: Heater Element, Rear OBDII Oxygen Sensor (9-5 - V6)
G00181900Courtesy of SAAB-SCANIA OF AMERICA, INC.
Fig 33: Mass Air Flow Sensor, T7 (9-3)
G00181901Courtesy of SAAB-SCANIA OF AMERICA, INC.
Fig 34: Mass Air Flow Sensor, EDC15 (9-3)
G00181902Courtesy of SAAB-SCANIA OF AMERICA, INC.
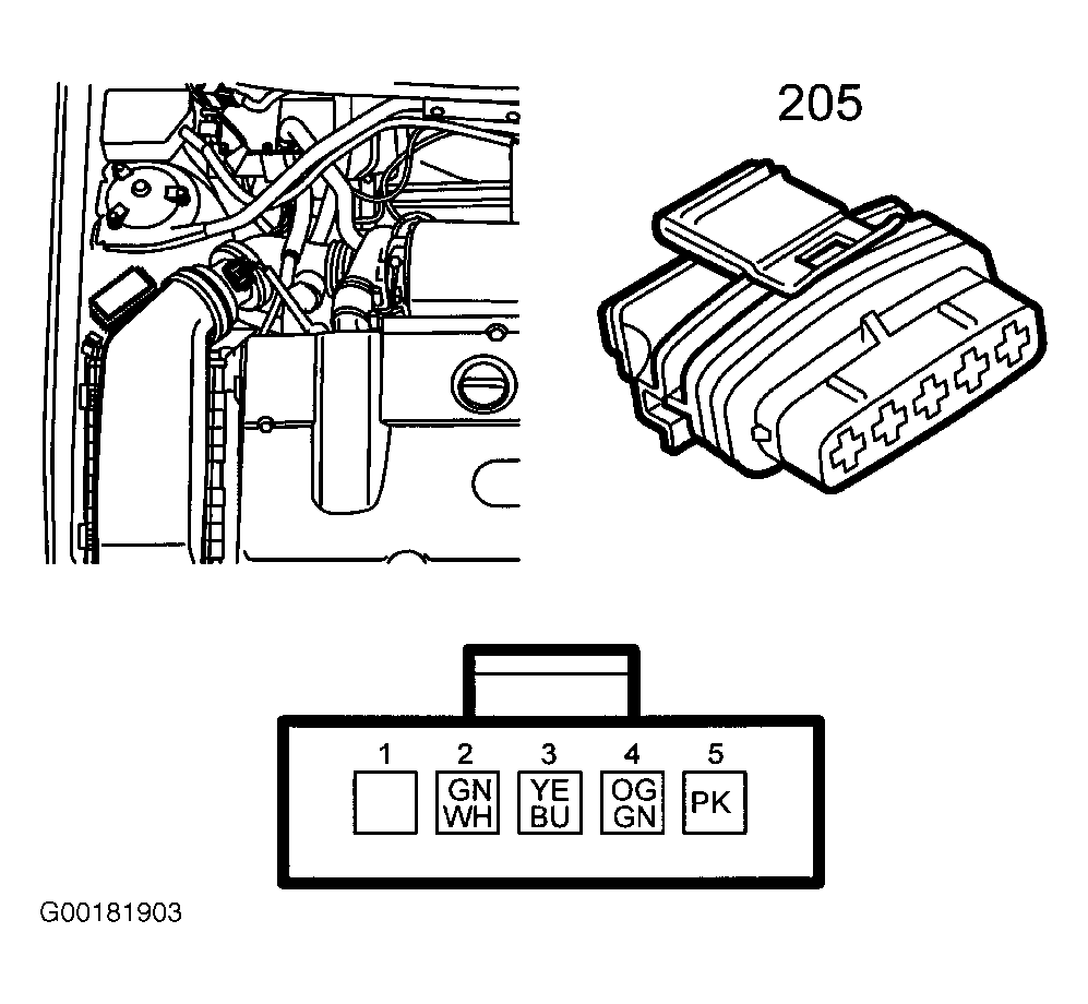
Fig 35: Mass Air Flow Sensor, PSG16 (9-3)
G00181903Courtesy of SAAB-SCANIA OF AMERICA, INC.
Fig 36: Mass Air Flow Sensor (9-5 - 4-Cyl)
G00181904Courtesy of SAAB-SCANIA OF AMERICA, INC.
Fig 37: Mass Air Flow Sensor (9-5 - V6)
G00184241Courtesy of SAAB-SCANIA OF AMERICA, INC.
Fig 38: Pressure Sensor, Charge Air (9-3 - T7)
G00184242Courtesy of SAAB-SCANIA OF AMERICA, INC.
Fig 39: Pressure Sensor, Charge Air (9-3 - PSG16)
G00184243Courtesy of SAAB-SCANIA OF AMERICA, INC.
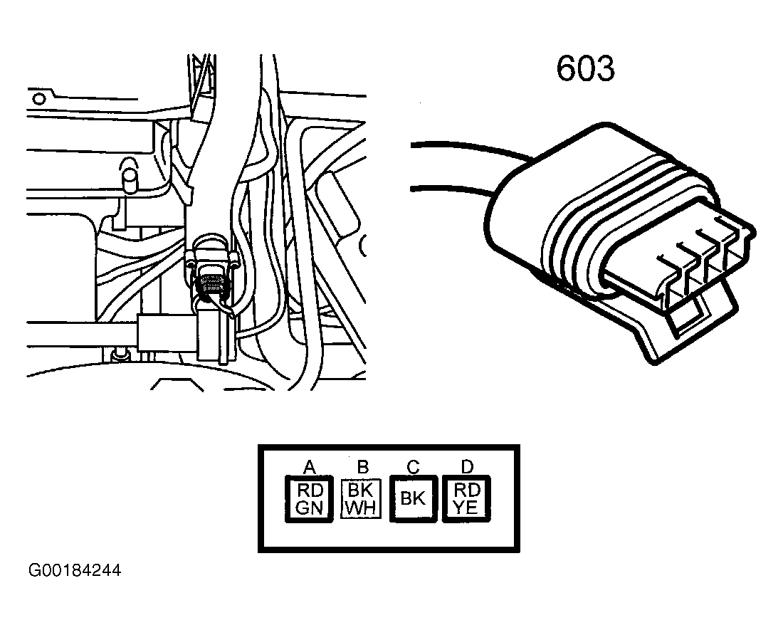
Fig 40: Pressure Sensor, Charge Air (9-5 - 4-Cyl)
G00184244Courtesy of SAAB-SCANIA OF AMERICA, INC.
Fig 41: Pressure Sensor, Charge Air (9-5 - V6)
G00184245Courtesy of SAAB-SCANIA OF AMERICA, INC.