LEMON Manuals: Even more car manuals for everyone: 1960-2025
Home >> Saab >> 2003 >> 9-3 Vector, Automatic >> Repair and Diagnosis (Single Page) >> Engine Performance >> System >> TRIONIC T7 Fuel Control System >> Fault Diagnosis Fault Codes >> DTC P1310: Ignition Discharge Module. Not Powered, Bank 1. >> Notes
April 5, 2026: LEMON Manuals is launched! Read the announcement.

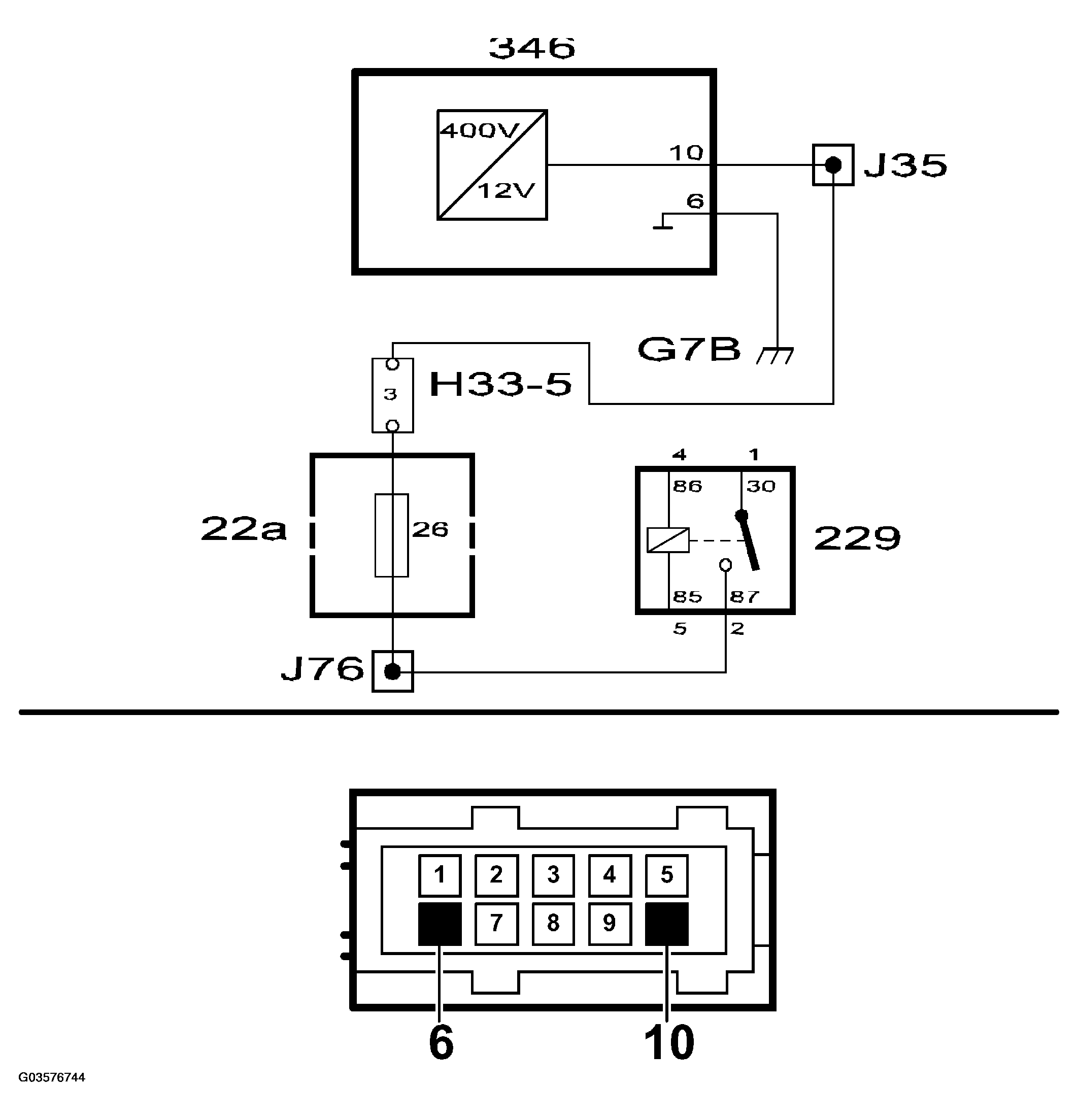
DTC P1310: Ignition Discharge Module. Not Powered, Bank 1.: Notes

Fig 1: Circuit Diagram - Ignition Discharge Module - Not Powered (Bank 1)
G03576744Courtesy of SAAB-SCANIA OF AMERICA, INC.