LEMON Manuals: Even more car manuals for everyone: 1960-2025
Home >> Saab >> 2003 >> 9-3 Vector, Standard >> Repair and Diagnosis (Single Page) >> Body & Frame >> Windows >> Glass, Windows And Mirrors (Late; 9440) >> Adjustment-Replacement >> Reprogramming a button >> Programming for garage door with rolling security code
April 5, 2026: LEMON Manuals is launched! Read the announcement.

Programming for garage door with rolling security code

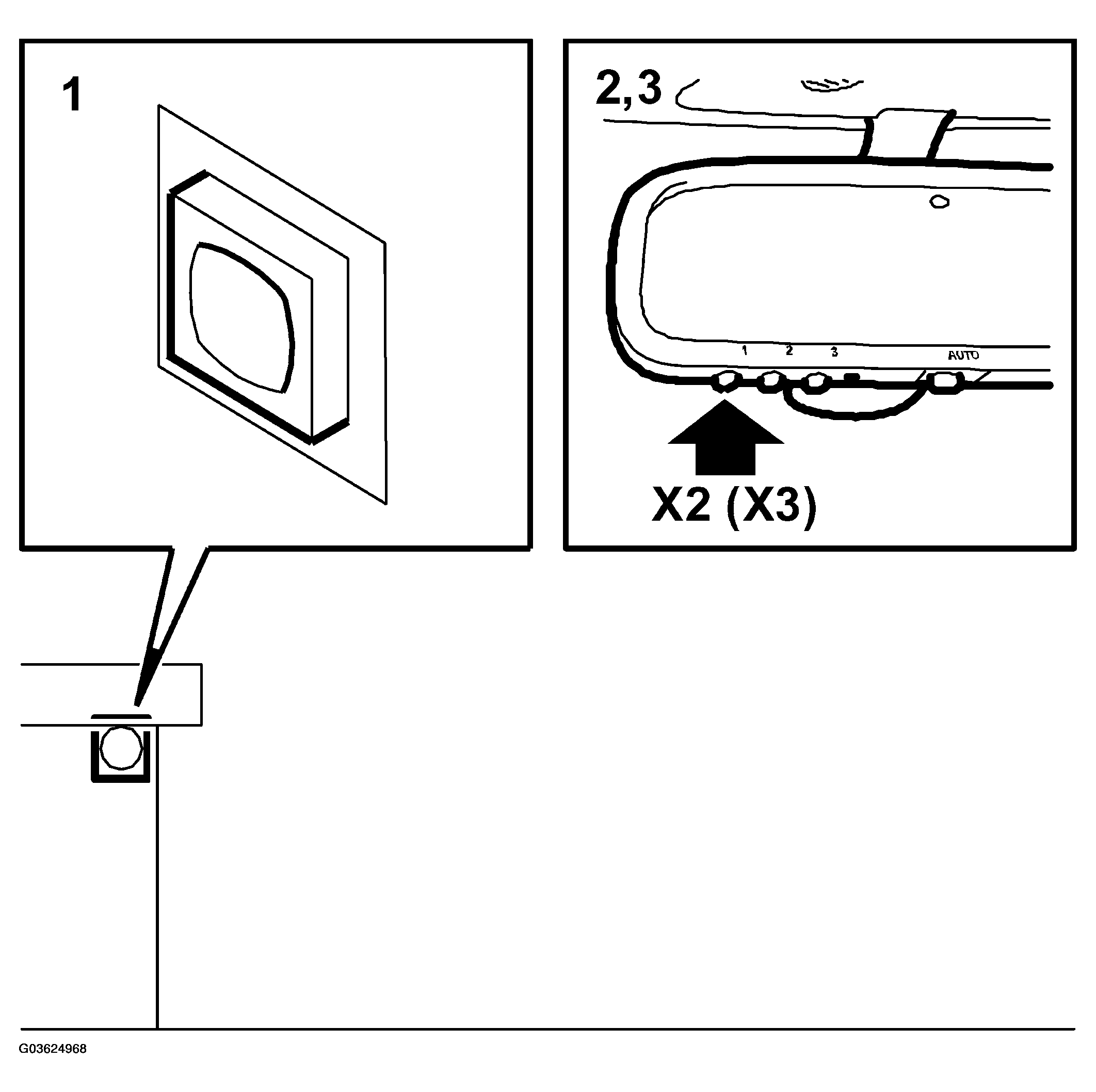
  1. Localize the programming button on the motor unit of the garage door. The location and color of this button varies between makes.
    Fig 1: Identifying Garage Door With Rolling Security Code Programming
    G03624968Courtesy of SAAB-SCANIA OF AMERICA, INC.
  2. Press and release the programming button on the motor unit. The next step must be performed within 30 seconds.
  3. Press the programmed button on the rearview mirror twice (some garage doors require the button to be pressed three times).