LEMON Manuals: Even more car manuals for everyone: 1960-2025
Home >> Saab >> 2004 >> 9-3 Linear, Automatic >> Repair and Diagnosis >> Quick Lookups >> Electrical Component Locations >> Component Locations >> Technical Description >> Brake light switch (29) >> Connection >> Complete function
April 5, 2026: LEMON Manuals is launched! Read the announcement.

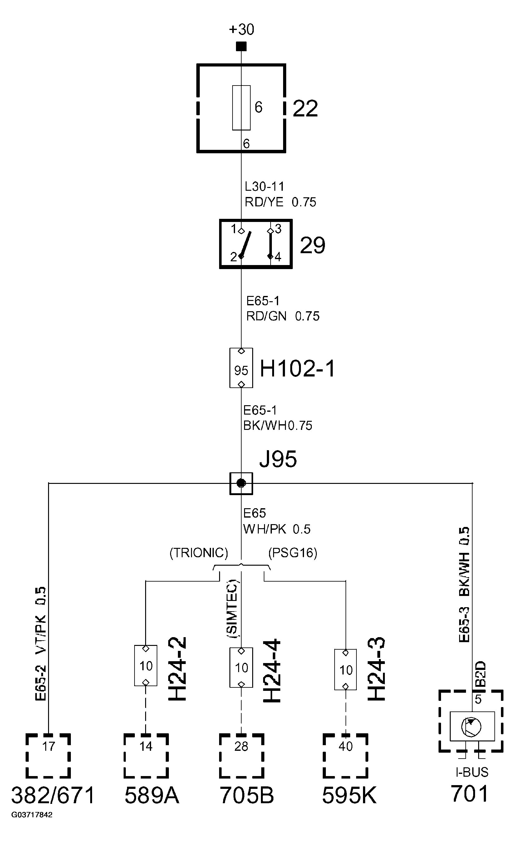
Complete function

Fig 1: Brake Light Switch Circuit Diagram - Complete Function
G03717842Courtesy of SAAB-SCANIA OF AMERICA, INC.