LEMON Manuals: Even more car manuals for everyone: 1960-2025
Home >> Saab >> 2004 >> 9-5 Linear, Standard >> Repair and Diagnosis >> External Pages >> Different car >> Section 42 (Control Module (Late; 9440)) >> Technical Description >> Control modules, general description >> A/D Converters >> Pull-Up and Pull-Down
April 5, 2026: LEMON Manuals is launched! Read the announcement.

Pull-Up and Pull-Down

WARNING: This page is about a different car, the 2003 Saab 9-3. However, it is still accessible from the selected car via links, so may be relevant.

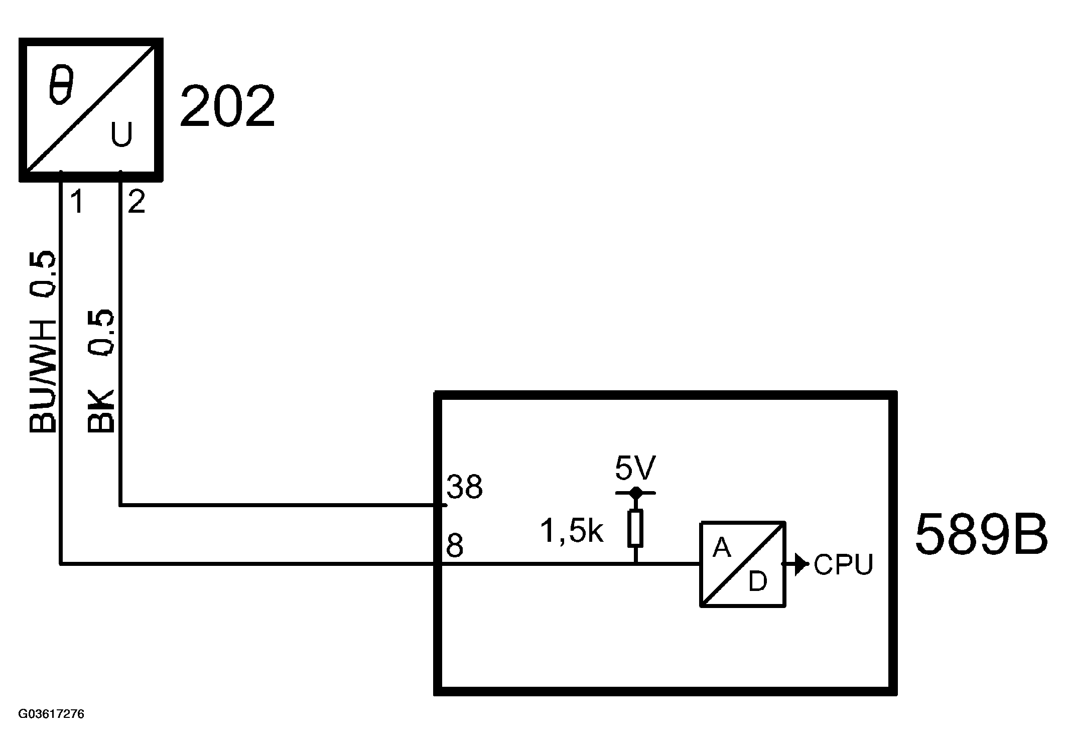
The A/D converter is connected to a sensor via a control module pin. The pin has a pull-up or a pull-down. A pull-down is a resistor that has a high number of ohms and pulls to ground (connected in the control module between the pin and ground on the circuit board). A pull-up works the same way, but pulls the pin to a specific voltage (often 5 V or B+).

A pull-up must be used on passive sensors, such as NTC, so that one can have a voltage to read. Otherwise, a pull-up or pull-down is primarily used for diagnostics to draw the pin voltage to an unacceptable value in the event of a break on the lead.

If an analogue control module input has a pull-up, you can be sure that diagnostics cannot distinguish between a break and a short-circuit to B+. In the same manner, diagnostics cannot distinguish between a break and a short-circuit to ground if there is a pull-down.

In fault tracing, one is often instructed to connect a jumper to an analogue control module input with pullup to ground. The diagnostic tool then changes the value from, for example, -40°C to 150°C. This shows that the lead is whole.

Fig 1: Connection Diagram
G03617276Courtesy of SAAB-SCANIA OF AMERICA, INC.