LEMON Manuals: Even more car manuals for everyone: 1960-2025
Home >> Saab >> 2005 >> 9-2X F4-2.0L Turbo >> Repair and Diagnosis >> Diagrams >> Exploded Views >> Exhaust System
April 5, 2026: LEMON Manuals is launched! Read the announcement.

Exhaust System

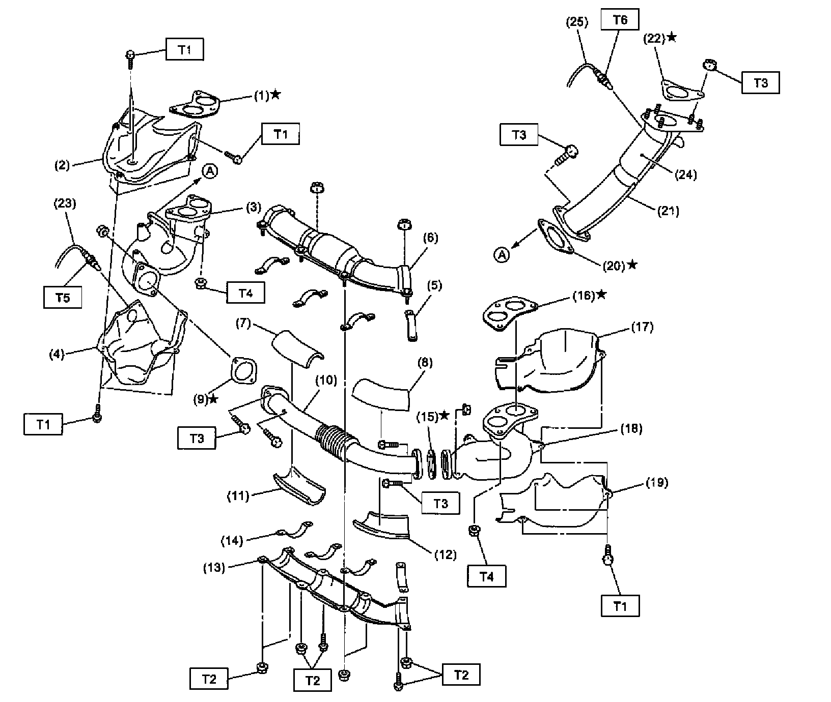
FRONT EXHAUST PIPE (Part 1):



FRONT EXHAUST PIPE (Part 2):



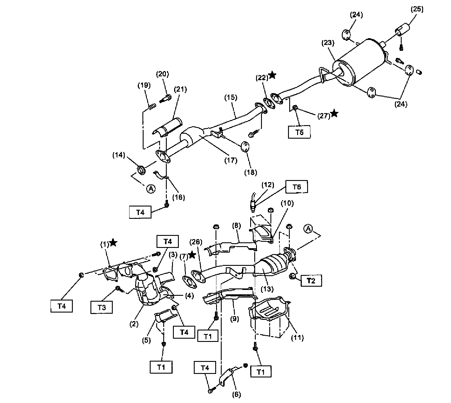
CENTER AND REAR EXHAUST PIPE, AND MUFFLER (Part 1):



CENTER AND REAR EXHAUST PIPE, AND MUFFLER (Part 2):