LEMON Manuals: Even more car manuals for everyone: 1960-2025
Home >> Saab >> 2005 >> 9-2X F4-2.0L Turbo >> Repair and Diagnosis >> Transmission and Drivetrain >> Automatic Transmission/Transaxle >> Control Module >> Locations
April 5, 2026: LEMON Manuals is launched! Read the announcement.

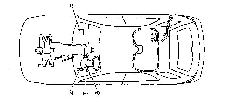
Control Module: Locations

Electrical Component Location
LOCATION





CONTROL MODULE





(1) Engine control module (ECM)