LEMON Manuals: Even more car manuals for everyone: 1960-2025
Home >> Saab >> 2005 >> 9-2X Linear, 251, Automatic >> Repair and Diagnosis >> Engine Performance >> System >> Engine (Diagnostics) - 2.5L >> Electrical Component Location >> Control Module
April 5, 2026: LEMON Manuals is launched! Read the announcement.

Control Module

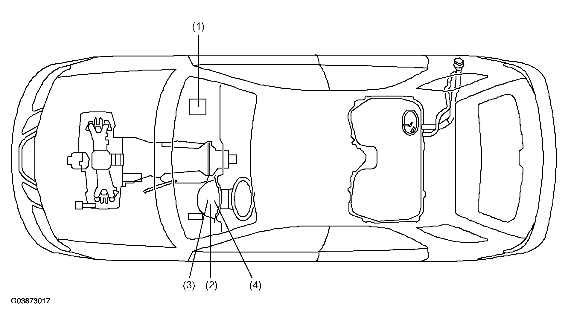
Fig 1: Identifying Engine Control Modules
G03873017Courtesy of SAAB-SCANIA OF AMERICA, INC.
  1. Engine control module (ECM)
  2. Malfunction indicator light
  3. Test mode connector
  4. Data link connector
    Fig 2: Identifying Engine Control Module (ECM)
    G03873018Courtesy of SAAB-SCANIA OF AMERICA, INC.
    Fig 3: Identifying Malfunction Indicator Light
    G03873019Courtesy of SAAB-SCANIA OF AMERICA, INC.
    Fig 4: Identifying Test Mode Connector
    G03873020Courtesy of SAAB-SCANIA OF AMERICA, INC.
    Fig 5: Identifying Data Link Connector
    G03873021Courtesy of SAAB-SCANIA OF AMERICA, INC.