LEMON Manuals: Even more car manuals for everyone: 1960-2025
Home >> Saab >> 2005 >> 9-2X Linear, 253, Automatic >> Repair and Diagnosis >> Transmission >> Manual Trans >> Shift Control System >> Adjustment/Replacement >> Select Lever >> Disassembly
April 5, 2026: LEMON Manuals is launched! Read the announcement.

Select Lever: Disassembly

Remove the packing.

Remove the grip.

Remove the indicator light, and then remove the indicator cover.

NOTE: Be careful not to break the indicator light during removal.
Fig 1: Removing Indicator Cover
G03873976Courtesy of SAAB-SCANIA OF AMERICA, INC.
  1. Grip
  2. Indicator cover
  3. Indicator light

Remove the slider.

Remove the cover.

  1. Clip
  2. Cover

Remove the clips, and then remove the guide plate.

Fig 2: Removing Guide Plate
G03873977Courtesy of SAAB-SCANIA OF AMERICA, INC.
  1. Clips
  2. Guide plate

Remove the clamp, and the remove the shift lock solenoid.

  1. Clamp
  2. Shift lock solenoid

Remove the bolt.

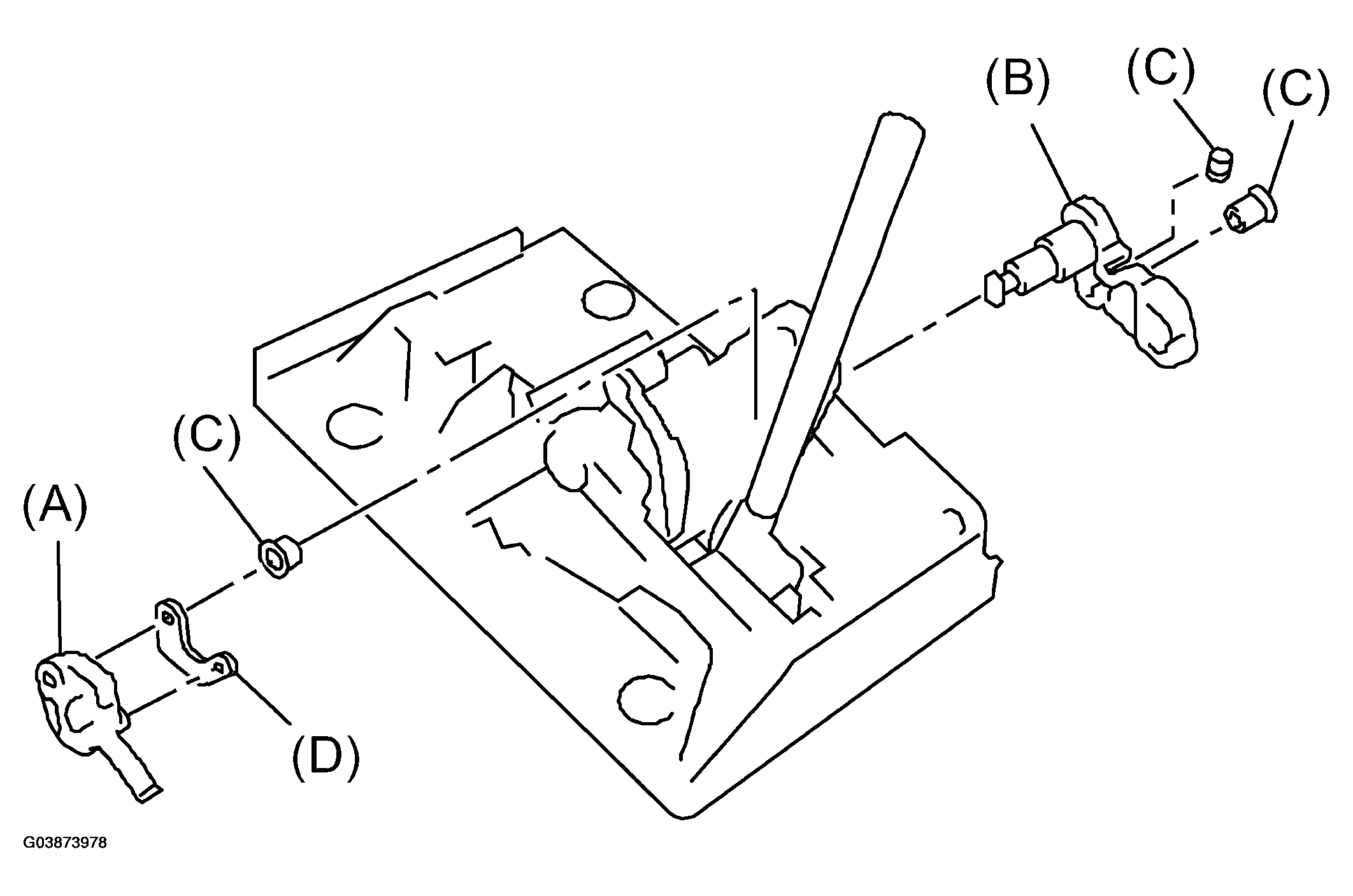
Remove the lock plate A, B, C and bushing.

Fig 3: Removing Lock Plate A, B, C And Bushing
G03873978Courtesy of SAAB-SCANIA OF AMERICA, INC.
  1. Lock plate A
  2. Lock plate B
  3. Bushing
  4. Lock plate C

Remove the cushion plate.

Fig 4: Removing Cushion Plate
G03873979Courtesy of SAAB-SCANIA OF AMERICA, INC.

Remove the clip, and then remove the "P" range switch.

Fig 5: Removing Range Switch
G03873980Courtesy of SAAB-SCANIA OF AMERICA, INC.
  1. Clip
  2. "P" range switch

Remove the grommet, and then extract spring pin.

Fig 6: Removing Grommet
G03873981Courtesy of SAAB-SCANIA OF AMERICA, INC.
  1. Spring pin
  2. Select lever lower

Remove the select lever lower, and then take away the select lever COMPL from plate.

  1. Select lever lower
  2. Select lever COMPL
  3. Plate

Remove the detent spring, and then remove the detent arm.

  1. Detent arm
  2. Detent spring

Remove the select lever COMPL bushing from bracket.

Remove the bracket from select lever COMPL.

Remove the bushing from bracket.