LEMON Manuals: Even more car manuals for everyone: 1960-2025
Home >> Saab >> 2006 >> 9-2X F4-2.5L >> Repair and Diagnosis >> Diagrams >> Exploded Views >> Drive/Propeller Shaft
April 5, 2026: LEMON Manuals is launched! Read the announcement.

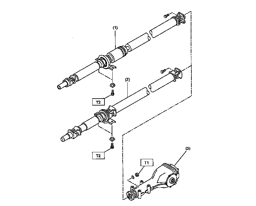
Drive/Propeller Shaft

COMPONENT
PROPELLER SHAFT

PROPELLER SHAFT:




(1) Propeller shaft (DOJ)
(2) Propeller shaft UJ type)
(3) Rear differential
Tightening torque: Nm type) (kgf-m, ft. lbs.)
T1:31 (3.2, 22.9)
T2: 52 (5.3, 38.3)

FRONT AXLE
EBJ+PTJ type

FRONT AXLE EBJ+PTJ type:




(1) Circlip
(2) Baffle plate (PTJ)
(3) Outer race (PTJ)
(4) Snap ring
(5) Trunnion
(6) Free ring
(7) Circlip
(8) Boot band
(9) Boot (PTJ)
(10) Boot (EBJ)
(11) EBJ ASSY
(12) Tone wheel
(13) Baffle plate
(14) Oil seal (IN)
(15) Snap ring
(16) Bearing
(17) Housing
(18) Oil seal (OUT)
(19) Hub bolt
(20) Hub
(21) Axle nut
Tightening torque: Nm (kgf-m, ft. lbs.)
T. 220 (22.4, 162)

REAR AXLE

REAR AXLE:




(1) Circlip
(2) Baffle plate (DOJ)
(3) Outer race (DOJ)
(4) Snap ring
(5) Inner race
(6) Ball
(7) Cage
(8) Circlip
(9) Boot band
(10) Boot (DOJ)
(11) Boot
(12) Saab 9-2X 2.5i Linear: BJ ASSY Turbo: (EBJ ASSY
(13) Baffle plate
(14) Oil seal (IN. No. 2)
(15) Oil seal (IN.)
(16) Housing
(17) Bearing
(18) Snap ring
(19) Oil seal (OUT)
(20) Tone wheel
(21) Hub bolt BJ ASSY
(22) Hub
(23) Axle nut
Tightening torque: Nm (kgf-m, ft. lbs.)
T1: 13 (1.3, 9.4)
T2: 190 (19.4, 140)