LEMON Manuals: Even more car manuals for everyone: 1960-2025
Home >> Saab >> 2006 >> 9-2X F4-2.5L >> Repair and Diagnosis >> Maintenance >> Alignment >> Service and Repair
April 5, 2026: LEMON Manuals is launched! Read the announcement.

Alignment: Service and Repair


Wheel Alignment

Inspection
Check the following items before taking wheel alignment measurement.
Check items before taking wheel alignment measurement:
^ Tire air pressure
^ Unbalanced right and left tire wear, size difference
^ Tire run-out
^ Ball joint excessive play, wear
^ Tie rod end excessive play, wear
^ Wheel bearing excessive play
^ Right and left wheel base imbalance
^ Steering link part deformed, excessive play
^ Suspension part deformed, excessive play








Check, adjust and/or measure the wheel alignment in accordance with procedures indicated in the figure.

Wheel Arch Height
Set the vehicle on a level surface.

Set the vehicle to "curb weight" conditions. (Empty luggage compartment, install spare tire, jack, service tools, and top up fuel tank.)

Set the steering wheel in a straight line, then remove the vehicle straight ahead more than 5 m (16 ft) to settle the suspension.

Suspend the thread from wheel arch (point "A" in figure below) to determine a point directly above center of wheel.




(1) Wheel arch height
(2) Front fender
(3) Rear quarter
(4) Front wheel arch height
(5) Rear wheel arch height
(8) End of spindle
(6) Flange bend line
(7) Measuring point

Specified Wheel Arch Height (Part 1):




Specified Wheel Arch Height (Part 2):





Measure the distance between measuring point "A" and center of wheel.


Camber

Inspection
Place the front wheel on turning radius gauge. Make sure ground contacting surfaces of front and rear wheels are set at the same height.

Set the ST into the center of wheel, and then install the wheel alignment gauge.
^ ST 32005204 ADAPTER




(1) Alignment gauge
(2) Turning radius gauge

Follow the wheel alignment gauge operation manual to measure camber angle.

NOTE: Refer to the Specifications [1][2]Alignment for camber values.

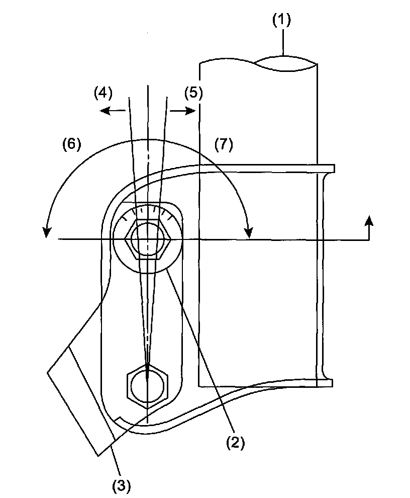
Front Camber Adjustment
Loosen the two self-locking nuts located at lower front portion of strut.

NOTE: When adjusting bolt needs to be loosened or tightened, hold its head with a wrench and turn self-locking nut.

Turn the camber adjusting bolt so that camber is set at the specification.




(1) Strut
(2) Adjusting bolt
(3) Housing
(4) Outer
(5) Inner
(6) Camber is increased.
(7) Camber is decreased.























NOTE: Moving the adjusting bolt by one scale graduation changes camber by approximately 0°10'.

Tighten two new self-locking nuts.
Tightening torque: 175 Nm (17.8 kgf-m, 129 ft. lbs.)

Caster

Inspection
Place the front wheel on turning radius gauge. Make sure ground contacting surfaces of front and rear wheels are set at the same height.

Set the ST into center of wheel, and then install the wheel alignment gauge.
^ ST 32005204 ADAPTER




(1) Alignment gauge
(2) Turning radius gauge

Follow the wheel alignment gauge operation manual to measure caster angle.

Note: Refer to Specification [1][2]Alignment for caster values.

Steering Angle

Inspection
Place the vehicle on a turning radius gauge.
While depressing the brake pedal, turn the steering wheel fully to the right and left. With the steering wheel held at each fully turned position, measure both the inner and outer wheel steering angle.





Steering angle

Adjustment
Turn the tie-rod to adjust steering angle of both inner and outer wheels.
Check the toe-in.

NOTE: Correct the boot if it is twisted.




(1) Lock nut

Front Wheel Toe-in

Inspection
Toe-in: 1.8 ± 3 mm (0.08 ± 0.12 inch) (tolerance)

Set the toe-in gauge to rear sides of right and left front tires at height corresponding to center of spindle.

Mark each right and left tires at height corresponding to center of spindle and measure the distance "A" between marks.

Move the vehicle forward to rotate wheels 180°.

NOTE: Whenever rotating the wheels, drive the vehicle forward.

Measure the distance "B" between right and left marks. Toe-in can then be obtained by the following equation:
A - B = Toe-in






Adjustment
Make sure that the right and left steering angles are within specified value.

Loosen the right and left side steering tie-rods lock nuts.
Turn the right and left tie rods equal amounts until the toe-in is at the specification.

Toe-in: 1.8 ± 2 mm (0.08 ± 0.08 inch) (adjustment standard)

Both the right and left tie-rods are right-hand threaded. To increase toe-in, turn both tie-rods clockwise equal amounts (as viewed from inside of the vehicle).




(1) Lock nut

Tighten the tie-rod lock nut.
Tightening torque: 83 Nm (8.5 kgf-m, 61.5 ft. lbs.)

NOTE: Correct the tie-rod boot, if it is twisted.

Rear Wheel Toe-In

Inspection
Toe-in: 0 ± 3 mm (0 ± 0.12 inch) (tolerance)
For rear toe-in inspection procedure, refer to FRONT WHEEL TOE-IN procedure.

Adjustment
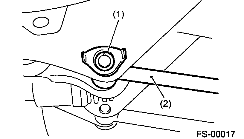
Loosen the self-locking nut on inner side of link rear.

NOTE: When loosening or tightening the adjusting bolt, hold the bolt head and turn self-locking nut.




(1) Adjusting bolt
(2) Link rear

Turn the adjusting bolt head until toe-in is at the specification.
Toe-in: 0 ± 2 mm (0 ± 0.08 inch) (adjustment standard)






















NOTE: When the right and left wheels are adjusted for toe-in at the same time, the movement of one scale graduation changes toe-in by approximately 1.5 mm (0.6 in).

Tighten a new self-locking nut.
Tightening torque: 100 Nm (10.2 kgf-m, 74 ft. lbs.)

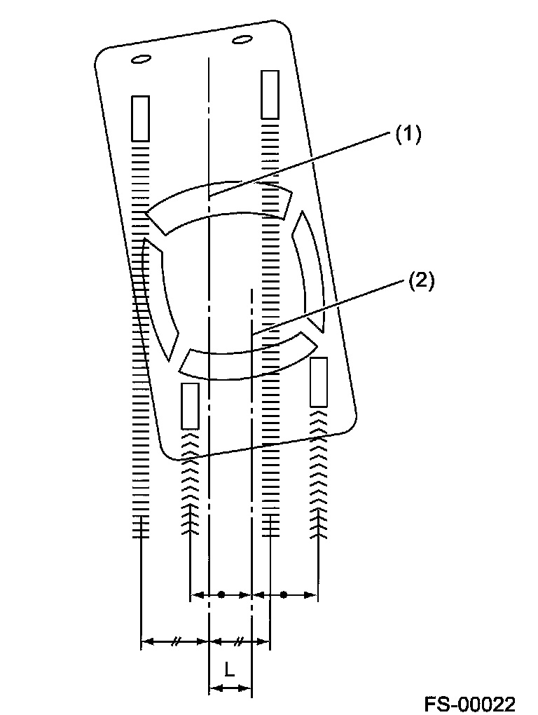
Thrust Angle

Inspection
Position the vehicle on a level surface.
Move the vehicle 3 to 4 m (10 to 13 ft) directly forward.
Determine the center lines of loci of both front and rear axles.
Measure the distance "L" between center lines of loci of the axles.
Thrust angle: Less than 30' when "L" is less than 22 mm (0.9 inch).




(1) Center line of loci (front axle)
(2) Center line of loci (rear axle)

Adjustment
Make the thrust angle adjustments by turning toe-in adjusting bolts of rear suspension equally in the same direction.

When one rear wheel is adjusted in a toe-in direction, adjust the other rear wheel equally in toe-out direction, in order to make thrust angle adjustment.

When the right and left adjusting bolts are turned incrementally by one graduation in the same direction, the thrust angle will change approximately 16' ["L" is almost equal to 12 mm (0.472 in)].





Thrust angle:




(1) Front
(2) Thrust angle
(3) Body center line

NOTE: Thrust angle refers to a mean value of right and left rear wheel toe angles in relation to the vehicle body center line. Vehicle is driven straight in the thrust angle direction while swinging in the oblique direction depending on the degree of the mean thrust angle.

Thrust angle: r = (a - B)/2
a: Right rear wheel toe-in angle
B: Left rear wheel toe-in angle

Here, use only positive toe-in values from each wheel to substitute for a and in the equation.




(1) Front
(2) Body center line