LEMON Manuals: Even more car manuals for everyone: 1960-2025
Home >> Saab >> 2009 >> 9-7X L6-4.2L >> Repair and Diagnosis >> Heating and Air Conditioning >> Control Module HVAC >> Locations >> Harness Routing Views
April 5, 2026: LEMON Manuals is launched! Read the announcement.

Harness Routing Views




Harness Routing Views

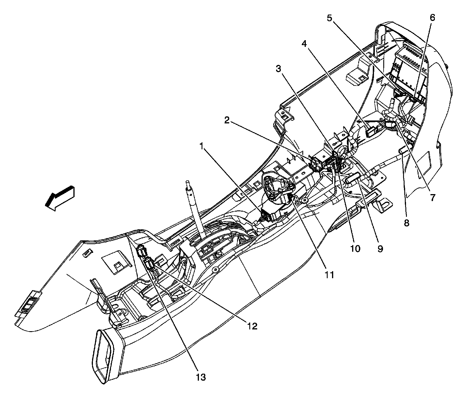
I/P Harness Routing - Rear of the I/P




1 - Blower Motor Control Module
2 - Inflatable Restraint I/P Module
3 - Recirculation Actuator
4 - S271
5 - S216
6 - Ambient Light/Sunload Sensor Assembly
7 - Mode Actuator
8 - Defrost Actuator
9 - Instrument Panel Cluster (IPC)
10 - Interior Lamp Defeat Switch
11 - Windshield Wiper Motor
12 - Stop Lamp Switch
13 - C225 (JF4)
14 - Transfer Case Shift Control Module C1
15 - Transfer Case Shift Control Module C2
16 - Transfer Case Shift Control Module C3
17 - Splice Pack SP205
18 - Turn Signal/Hazard Flasher Module
19 - Data Link Connector (DLC)
20 - S239
21 - Accelerator Pedal Position (APP) Sensor
22 - S202
23 - Air Temperature Sensor - Lower Left
24 - S217
25 - Air Temperature Actuator - Left
26 - S211
27 - C204
28 - S230
29 - Splice Pack SP201
30 - Air Temperature Sensor - Lower Right
31 - Air Temperature Actuator - Right
32 - C221 (U42/U2K)
33 - C203
34 - C202


I/P Harness Routing - Front of the I/P




1 - I/P Dimmer Switch
2 - Radio C1
3 - Air Temperature Sensor - Upper Left
4 - Driver Information Center (DIC) Switch
5 - Air Temperature Sensor - Upper Right
6 - Radio C2
7 - HVAC Control Module C1
8 - C300
9 - C307
10 - C323
11 - Inflatable Restraint Sensing and Diagnostic Module (SDM)
12 - Rollover Sensor
13 - C304
14 - Fuse Block - Rear C1
15 - Body Control Module (BCM) C1
16 - Body Control Module (BCM) C2
17 - S203
18 - S220
19 - S273 (4.2L)
20 - S320
21 - S232
22 - S272
23 - HVAC Control Module C2
24 - C201
25 - C275
26 - Rear Window Wiper/Washer Switch

Floor Console Harness Routing




1 - Ignition Switch
2 - Theft Deterrent Control Module
3 - C323
4 - Console Mode Actuator - Auxiliary
5 - HVAC Control Module - Auxiliary
6 - Auxiliary Power Outlet - Rear
7 - S307
8 - S392
9 - S393
10 - C307
11 - Theft Deterrent Exciter Module
12 - Auxiliary Power Outlet - Front
13 - Auxiliary Power Outlet - Front