LEMON Manuals: Even more car manuals for everyone: 1960-2025
Home >> Saab >> 2011 >> 9-3X Automatic >> Repair and Diagnosis (Single Page) >> Accessories & Equipment >> Headlights >> Lighting And Signaling/Horn Systems >> Component Locator - Control Module/Headlight Adjustment >> Crimp J2, front harness >> Notes
April 5, 2026: LEMON Manuals is launched! Read the announcement.

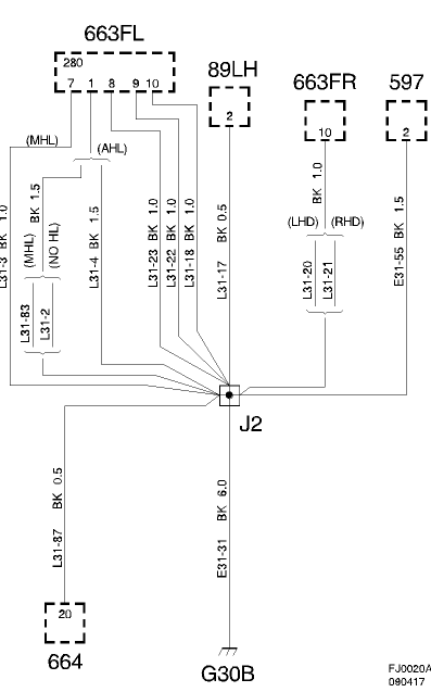
Crimp J2, front harness: Notes

Location:  Approx. 60 mm from branching point grounding point G30 towards left headlamp

Fig 1: Crimp J2, Front Harness - Circuit Diagram
G00494323Courtesy of SAAB-SCANIA OF AMERICA, INC.