LEMON Manuals: Even more car manuals for everyone: 1960-2025
Home >> Saab >> 2011 >> 9-3X Automatic >> Repair and Diagnosis (Single Page) >> Electrical >> Horns >> Lighting And Signaling/Horn Systems >> Component Locator - Control Module/Headlight Adjustment >> Crimp connection J7, front harness >> Notes
April 5, 2026: LEMON Manuals is launched! Read the announcement.

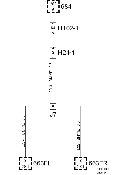
Crimp connection J7, front harness: Notes

Location:  Approx. 270 mm from branching of grounding point G30 towards the right headlamp

Fig 1: Crimp Connection J7, Front Harness - Circuit Diagram
G05551353Courtesy of SAAB-SCANIA OF AMERICA, INC.