LEMON Manuals: Even more car manuals for everyone: 1960-2025
Home >> Saab >> 2011 >> 9-5 Turbo6 >> Repair and Diagnosis >> External Pages >> Different variant/trim >> Section 1 (Basic Engine, 2.0L) >> Technical data >> Thread Repair Specifications (LDK, LHU) >> Engine Block - Bottom View
April 5, 2026: LEMON Manuals is launched! Read the announcement.

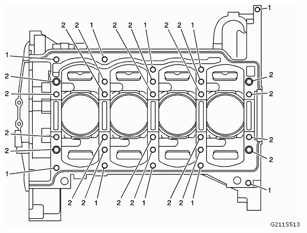
Engine Block - Bottom View

WARNING: This page is about a different variant/trim than selected.
Fig 1: Identifying Engine Block Thread Locations (Bottom View)
G09406792Courtesy of SAAB-SCANIA OF AMERICA, INC.
ENGINE BLOCK SPECIFICATIONS (BOTTOM VIEW)

Service Call Out Thread Size Insert Drill Counterbore Tool Tap Driver Drill Depth Maximum Tap Depth Maximum
J 42385-850 MM IN MM IN
1 M8 x 1.25 210 206 207 208 209 28 1.102 22 0.87
2 M10 x 1.5 514 511 N/A 512 513 60 2.362 53.5 2.11