LEMON Manuals: Even more car manuals for everyone: 1960-2025
Home >> Saab >> 2011 >> 9-5 Turbo6 >> Repair and Diagnosis >> External Pages >> Different variant/trim >> Section 1 (Basic Engine, 2.0L) >> Technical data >> Thread Repair Specifications (LDK, LHU) >> Engine Block - Left Side View
April 5, 2026: LEMON Manuals is launched! Read the announcement.

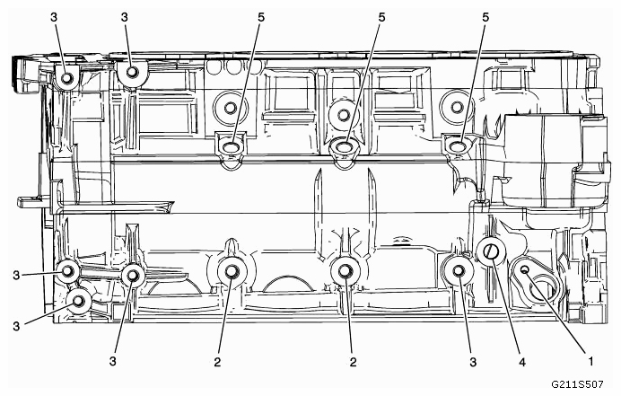
Engine Block - Left Side View

WARNING: This page is about a different variant/trim than selected.
Fig 1: Identifying Engine Block Thread Locations (Left Side View)
G09406793Courtesy of SAAB-SCANIA OF AMERICA, INC.
ENGINE BLOCK SPECIFICATIONS (LEFT SIDE VIEW)

Service Call Out Thread Size Insert Drill Counterbore Tool Tap Driver Drill Depth Maximum Tap Depth Maximum
J 42385-850 MM IN MM IN
1 M6 x 1 205 201 202 203 204 20.5 0.807 16.5 0.65
2 M10 x 1.5 215 211 212 213 214 23.5 0.925 18 0.71
3 M8 x 1.25 210 206 207 208 209 30.5 1.201 22.5 0.89
4 M12 x 1.75 865 856 857 858 859 15.5 0.61 12.5 0.49
5 M12 x 1.75 865 856 857 858 859 19.5 0.778 12.5 0.49