Select System
WARNING: This page is about a different car, the 1995 Cadillac Seville, 1995 Cadillac Eldorado, and 1995 Cadillac DeVille. However, it is still accessible from the selected car via links, so may be relevant.
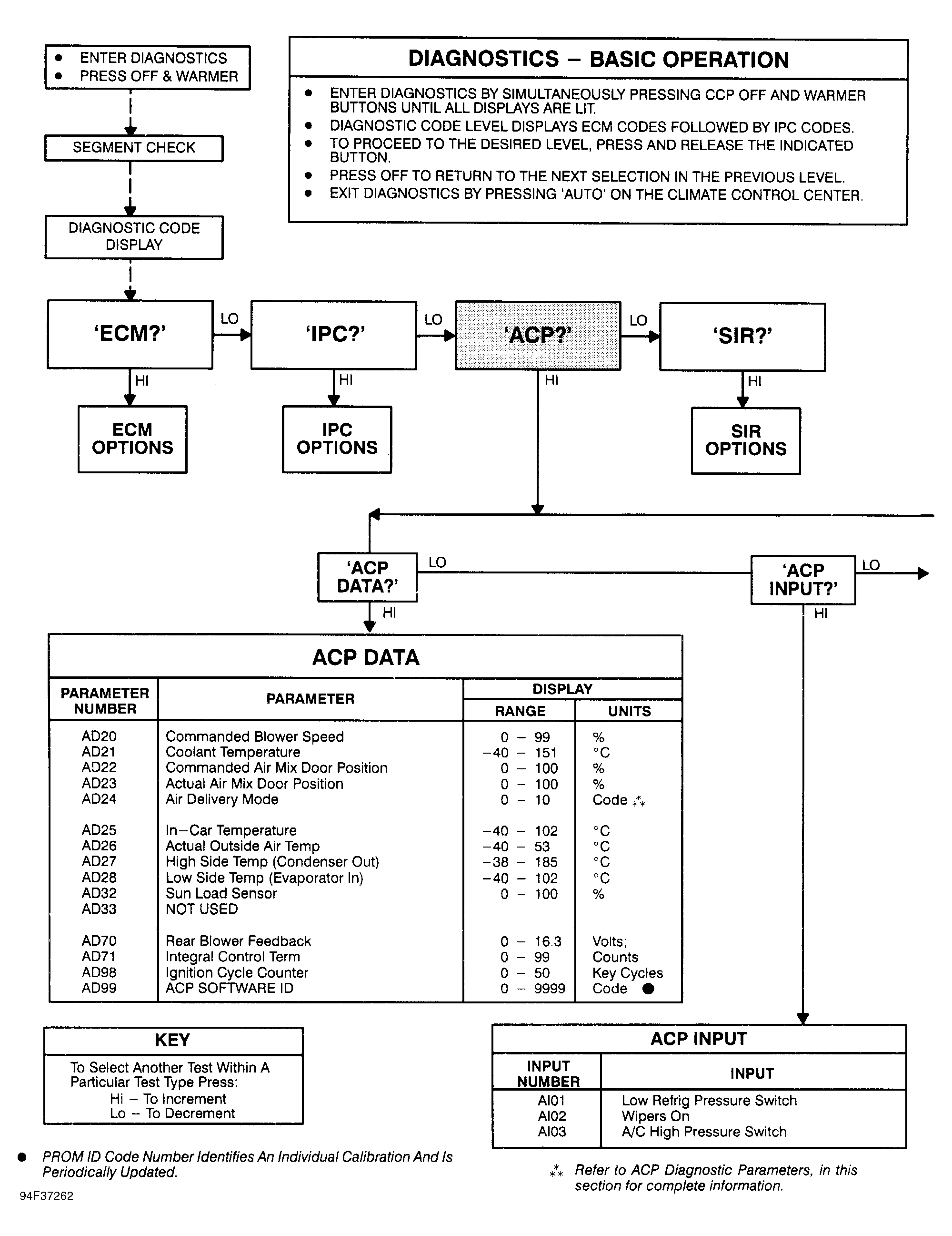
Following trouble code display, first available system will be displayed. When selecting a test, 4 choices are available:
- Pressing OFF button on CCC will stop system selection process and return display to beginning of trouble code sequence.
- Pressing blower fan down arrow (LO) button on CCC will display next available system selection. See Fig 1 and Fig 2 . This allows display to list each system selection. ECM?, IPC?, ACP? and SIR? are 4 available system displays.
- Press blower fan up arrow (HI) button on CCC to select displayed system for testing.
- Press AUTO button on CCC to exit SERVICE MODE and diagnostics. This will return display to normal operation.
NOTE:
System returns to mode it was in before it entered SERVICE MODE.