LEMON Manuals: Even more car manuals for everyone: 1960-2025
Home >> Saturn >> 2002 >> L200 Automatic >> Repair and Diagnosis >> Body & Frame >> Windows >> Mirror System, Window System & Rear Window Defogger >> Diagnostic Information and Procedures >> DTC B0285: Open Or Short To Ground In The Rear Defog Relay Control Circuit >> Notes
April 5, 2026: LEMON Manuals is launched! Read the announcement.

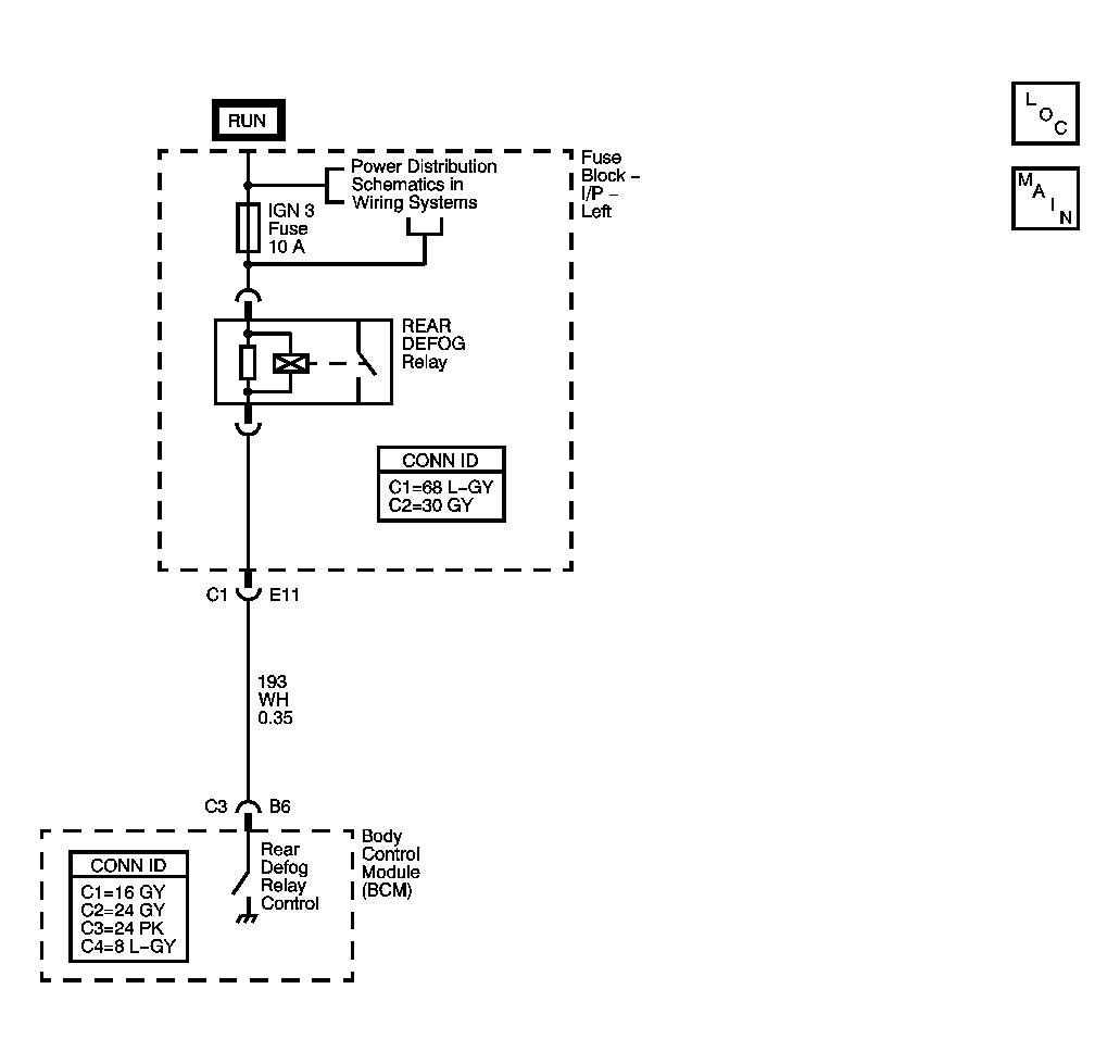
DTC B0285: Open Or Short To Ground In The Rear Defog Relay Control Circuit: Notes

Fig 1: DTC B0285
GM1247917Courtesy of GENERAL MOTORS CORP.