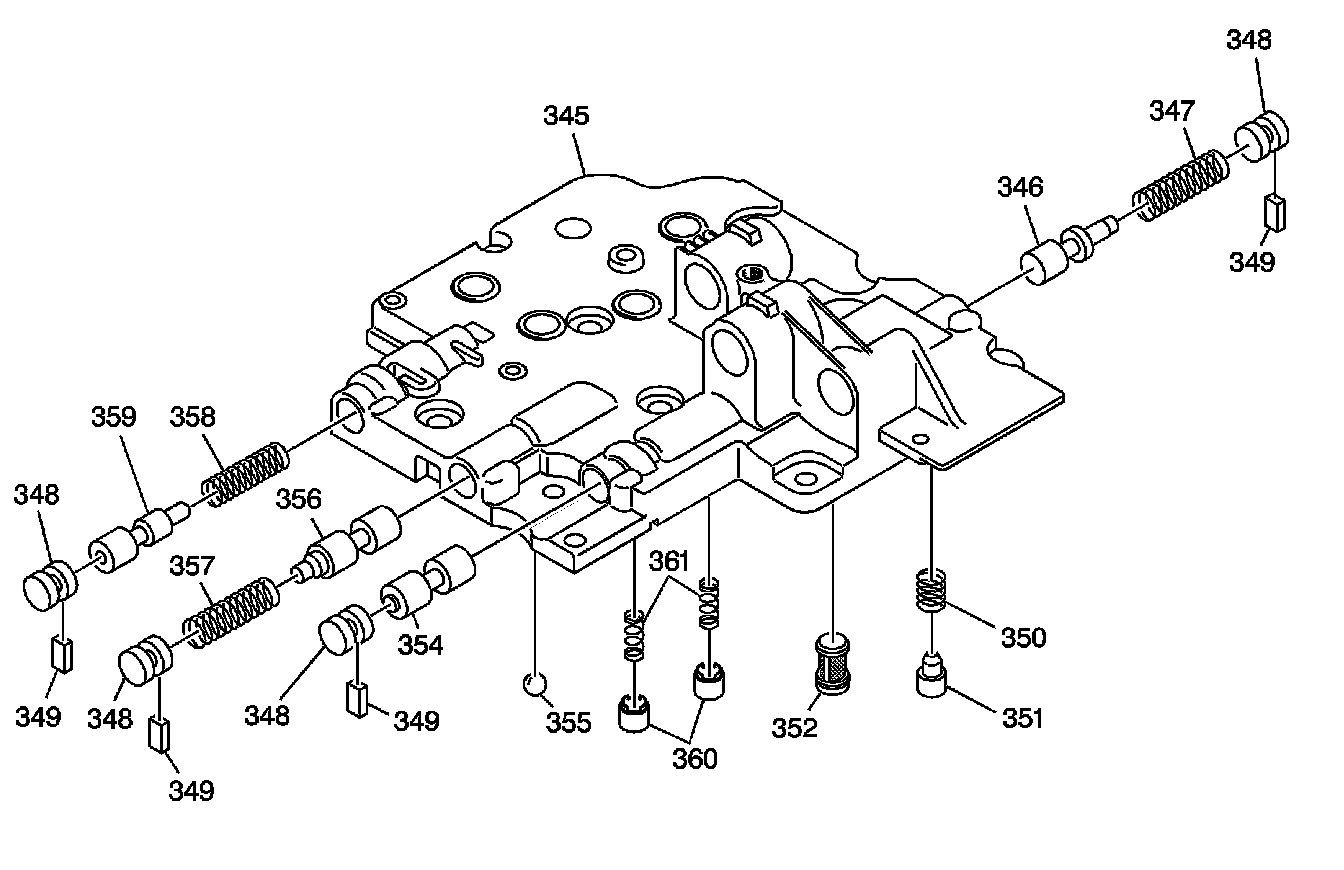
Front Control Valve Body Assembly
Front Control Valve Body Assembly345 - Front Control Valve Body
346 - Solenoid Modulator Valve
347 - Solenoid Modulator Valve Spring - Yellow
348 - Solenoid Modulator Valve Bore Plug (4)
348 - Solenoid Modulator Valve Bore Plug (4)
348 - Solenoid Modulator Valve Bore Plug (4)
348 - Solenoid Modulator Valve Bore Plug (4)
349 - Sleeve/Bore Plug Retainer (3.2 x 5 x 10) (4)
349 - Sleeve/Bore Plug Retainer (3.2 x 5 x 10) (4)
349 - Sleeve/Bore Plug Retainer (3.2 x 5 x 10) (4)
349 - Sleeve/Bore Plug Retainer (3.2 x 5 x 10) (4)
350 - Pressure Relief Valve Spring - Natural Color
351 - Pressure Relief Valve
352 - Fluid Strainer
354 - Forward Clutch (C1) Control Valve
355 - Ball Check Valve
356 - Neutral Relay Valve
357 - Neutral Relay Valve Spring - Light Blue
358 - 2nd Coast Clutch (B1) Control Valve Spring - Blue
359 - 2nd Coast Clutch (B1) Control Valve
360 - Check Valve (2)
361 - Check Valve Spring (2)