LEMON Manuals: Even more car manuals for everyone: 1960-2025
Home >> Saturn >> 2004 >> VUE AWD L4-2.2L VIN D >> Repair and Diagnosis >> Relays and Modules >> Relays and Modules - Powertrain Management >> Relays and Modules - Computers and Control Systems >> Engine Control Module >> Diagrams >> Engine Control Module (ECM) C1
April 5, 2026: LEMON Manuals is launched! Read the announcement.

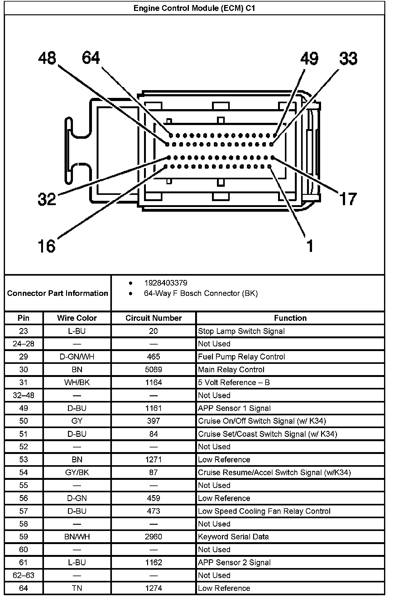
Engine Control Module (ECM) C1

Engine Control Module (ECM) C1 Part 1:



Engine Control Module (ECM) C1 Part 2: