LEMON Manuals: Even more car manuals for everyone: 1960-2025
Home >> Saturn >> 2004 >> Vue Red Line, AWD >> Repair and Diagnosis >> Transmission >> Automatic Trans >> Automatic Transmission, 5AT (Introduction) >> Description and Operation >> Electronic Component Description >> Transaxle Inputs >> Input Speed Sensor (ISS)
April 5, 2026: LEMON Manuals is launched! Read the announcement.

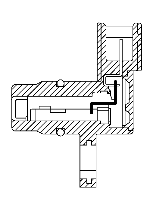
Input Speed Sensor (ISS)

Fig 1: Input Speed Sensor (ISS)
GM1254667Courtesy of GENERAL MOTORS CORP.

The automatic transmission input shaft speed (AT ISS) sensor is a three-wire magnetic pick-up sensor that is mounted externally to the transmission. The AT ISS utilizes the main idler gear teeth, located on the mainshaft, to generate a voltage signal of varying frequency that corresponds to the rotational speed of the mainshaft. The AT ISS signal is sent to the powertrain control module (PCM) and is used to calculate the vehicle speed. Simultaneously, the automatic transmission output speed shaft (AT OSS) sensor signal is used to calculate the vehicle speed. The PCM compares the vehicle speed calculated from both speed sensors and uses this comparison for diagnosis of the speed sensors.