LEMON Manuals: Even more car manuals for everyone: 1960-2025
Home >> Saturn >> 2005 >> Relay AWD >> Repair and Diagnosis >> External Pages >> Different car >> Section 170 (Cellular System, Entertainment System, And Navigation System) >> Component Locator >> Entertainment/Communication Component Views
April 5, 2026: LEMON Manuals is launched! Read the announcement.

Entertainment/Communication Component Views

WARNING: This page is about a different car, the 2007 Pontiac Montana SV6, 2007 Chevrolet Uplander, and 2007 Buick Terraza. However, it is still accessible from the selected car via links, so may be relevant.
Fig 1: Antenna Components
GM1542521Courtesy of GENERAL MOTORS CORP.
Callout Component Name
1 Digital Radio Antenna (U2K)
2 Cellular and Navigational Antenna (UE1)
3 Digital Radio Receiver (U2K)
4 Vehicle Communication Unit (VCU) (UE1)
5 Radio
6 C300 Digital Radio Antenna Coax Connector (U2K)
7 C304 Cellular and Navigation Antenna Coax Connector (UE1)
8 C298 Radio Antenna Coax Connector
9 Radio Antenna
Fig 2: Middle Left Side of I/P Components
GM1536079Courtesy of GENERAL MOTORS CORP.
Callout Component Name
1 Theft Light Emitted Diode (LED) (UA6)
2 Ambient Light Sensor
3 HVAC Control Module
4 Vent and Floor Actuator
5 Air Temperature Actuator (C60) or Air Temperature Actuator - Left (CJ3)
6 Defrost Actuator
7 Body Control Module (BCM)
8 Digital Radio Receiver (U2K)
9 Vehicle Communication Unit (VCU) (UE1)
Fig 3: Passenger and Driver Door Components
GM1539217Courtesy of GENERAL MOTORS CORP.
Callout Component Name
1 Passenger Door Trim Panel
2 Door Lock Switch - Passenger
3 Window Switch - Passenger
4 Door Latch Assembly - Passenger
5 Speaker - RF
6 Door Latch Assembly - Driver
7 Driver Door Trim Panel
8 Window Switch - Driver
9 Door Lock Switch - Driver
10 Outside Rearview Mirror Switch
11 Speaker - LF
Fig 4: Steering Wheel Components
GM1517025Courtesy of GENERAL MOTORS CORP.
Callout Component Name
1 Horn Switch Connector
2 Cruise Control Lever Connector (K34)
3 Steering Wheel Control Switch Assembly - Right (UK3)
4 Cruise Control Lever (K34)
5 S293 (UK3)
6 S297 (UK3)
7 Steering Wheel Ground
8 C279 Inflatable Restraint Steering Wheel Module Coil to Steering Wheel Harness
9 S295 (UK3)
10 Steering Wheel Control Switch Assembly - Left (UK3)
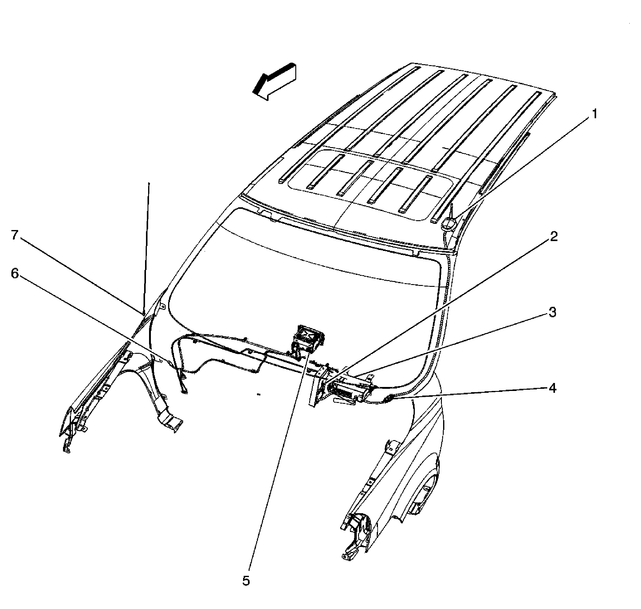
Fig 5: Identifying Front Headliner Components
GM1536136Courtesy of GENERAL MOTORS CORP.
Callout Component Name
1 Courtesy/Reading Lamp - Front
2 Multifunction Switch - Overhead Console
3 Courtesy/Reading Lamp - Front
4 OnStar Button Assembly (UE1)
5 Garage Door Opener (UG1)
6 Garage Door Opener Buttons (UG1)
7 Vanity Mirror Lamp - Right (DH6)
8 Multifunction Switch Overhead Console
9 Vanity Mirror Lamp - Left (DH6)
10 Cellular Microphone (UE1)
Fig 6: Center of Overhead Console
GM1551713Courtesy of GENERAL MOTORS CORP.
Callout Component Name
1 Digital Video Disc (DVD) Player (U42 or U56)
2 Overhead Console
Fig 7: Identifying Left Rear Cargo - Body Harness
GM1536069Courtesy of GENERAL MOTORS CORP.
Callout Component Name
1 Blower Motor - Auxiliary (C69)
2 Blower Motor Control Module - Auxiliary (C69)
3 Speaker - Rear Tweeter - Left
4 Mode Actuator - Auxiliary (C69)
5 Sliding Door Jamb Switch - Left (E59)
6 Air Temperature Actuator - Auxiliary (C69)
7 Auxiliary Power Outlet - Rear
8 G401
9 Rear Quarter Window Actuator - Left (A20)
Fig 8: Identifying Right Rear Cargo Components - Body Harness
GM1536111Courtesy of GENERAL MOTORS CORP.
Callout Component Name
1 Speaker - Rear Tweeter - Right
2 Accessory AC/DC Power Control Module (KC7)
3 C420 Rear Parking Assist Display Jumper Harness to Body Harness (UD7)
4 Rear Quarter Window Actuator - Right (A20)
5 C402 and C400 Liftgate Harness to Body Harness
6 Rear Parking Assist (RPA) Display (UD7)
7 G400
8 Auxiliary Power Outlet - 115VAC (KC7)
9 Sliding Door Jamb Switch - Right
10 Rear Object Sensor Control Module (UD7)
11 Rear Parking Assist (RPA) Diagnostic Connector (UD7)
Fig 9: Liftgate Components
GM1536127Courtesy of GENERAL MOTORS CORP.
Callout Component Name
1 Rear Window Wiper Motor
2 Speakers - LR/RR
3 Door Jamb Switch - Liftgate
4 Door Lock Actuator - Liftgate
5 Liftgate Latch Assembly