LEMON Manuals: Even more car manuals for everyone: 1960-2025
Home >> Saturn >> 2007 >> ION L4-2.2L >> Repair and Diagnosis >> Diagrams >> Connector Views >> Automatic Transmission/Transaxle >> A/T Shift Indicator Module
April 5, 2026: LEMON Manuals is launched! Read the announcement.

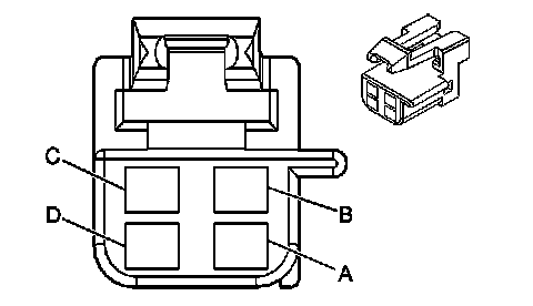
A/T Shift Indicator Module



Displays and Gages Connector End Views

Shift Indicator Module (UXE)