LEMON Manuals: Even more car manuals for everyone: 1960-2025
Home >> Saturn >> 2007 >> Ion Red Line >> Repair and Diagnosis (Single Page) >> Engine Mechanical >> Engine Mechanical >> Specifications >> Thread Repair Specifications >> Cylinder Head - Back View
April 5, 2026: LEMON Manuals is launched! Read the announcement.

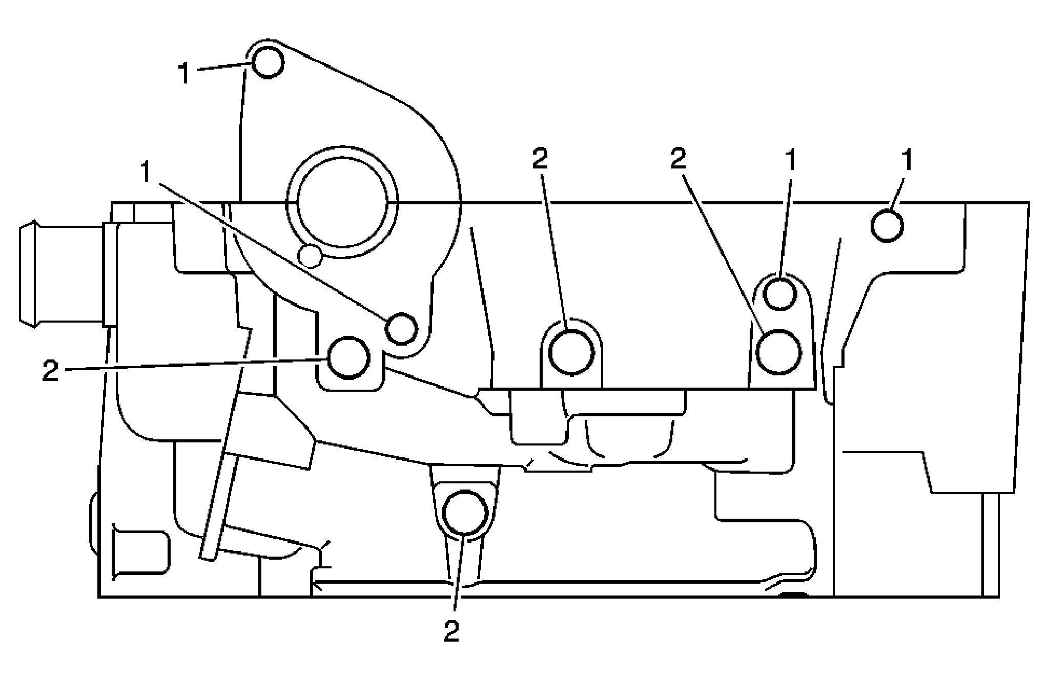
Cylinder Head - Back View

Fig 1: Identifying Bolt Size & Locations On Cylinder Head - Back
GM1492398Courtesy of GENERAL MOTORS CORP.
Cylinder Head - Back View

Service Call Out Thread Size Insert Drill Counterbore Tool Tap Driver Drill Depth (Maximum) Tap Depth (Maximum)
J 42385-850 MM (IN) MM (IN)
1 M8 x 1.25 210 206 207 208 209 25 0.984 20 0.787
2 M12 x 1.75 865 856 857 858 859 17 0.67 14 0.551