ABS Description and Operation: Notes
WARNING: This page is about a different car, the 2004 Saturn Ion Red Line, 2004 Saturn Ion 3, 2004 Saturn Ion 2, and 2004 Saturn Ion 1. However, it is still accessible from the selected car via links, so may be relevant.
| Callout | Component Name |
|---|---|
| 1 | Electronic Brake Control Module (EBCM) |
| 2 | Brake Pressure Modulator Valve (BPMV) |
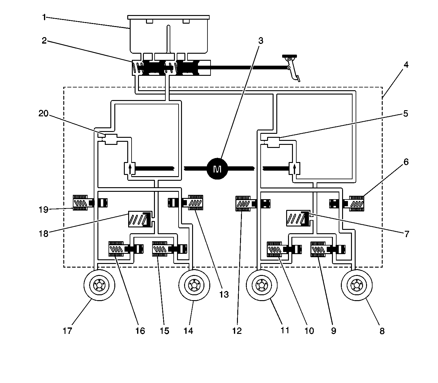
| Callout | Component Name |
|---|---|
| 1 | Master Cylinder Reservoir |
| 2 | Master Cylinder |
| 3 | Pump |
| 4 | Brake Pressure Modulator Valve (BPMV) |
| 5 | Damper |
| 6 | Right Rear Inlet Valve |
| 7 | Accumulator |
| 8 | Right Rear Brake |
| 9 | Right Rear Outlet Valve |
| 10 | Left Front Outlet Valve |
| 11 | Left Front Brake |
| 12 | Left Front Inlet Valve |
| 13 | Left Rear Inlet Valve |
| 14 | Left Rear Brake |
| 15 | Left Rear Outlet Valve |
| 16 | Right Front Outlet Valve |
| 17 | Right Front Brake |
| 18 | Accumulator |
| 19 | Right Front Inlet Valve |
| 20 | Damper |
This vehicle is equipped with the BOSCH 8.0 antilock braking system.
The vehicle is equipped with the following braking systems:
- Antilock Brake System (ABS)
- Dynamic Rear Proportioning (DRP)
- Traction Control System (TCS) (w/NW7)
The following components are involved in the operation of the above systems:
- Electronic Brake Control Module (EBCM) - The EBCM controls the system functions and detects failures.
The EBCM contains the following components:
- System Relays - The inlet and outlet solenoid relay is energized when the ignition is ON and no ABS DTCs are present. It supplies battery positive voltage to the solenoid valves, the pump motor relay is energized and supplies battery positive voltage to the pump motor when ABS is activated.
- Brake Pressure Modulator Valve (BPMV) - The BPMV contains the hydraulic valves and pump motor that are controlled electrically by the EBCM. The BPMV uses a 4 circuit configuration with a diagonal split. The BPMV directs fluid from the reservoir of the master cylinder to the left front and right rear wheels and fluid from the other reservoir to the right front and left rear wheels. The diagonal circuits are hydraulically isolated so that a leak or malfunction in one circuit will allow continued braking ability on the other.IMPORTANT: There is a rubber isolator located under the BPMV and on the mounting studs. The rubber isolators protect the BPMV and the EBCM from vehicle vibrations.
The BPMV contains the following components:
- Pump Motor
- Inlet Valves (one per wheel)
- Outlet Valves (one per wheel)
- Wheel Speed Sensors (WSS) - As the wheel spins, the wheel speed sensor produces an AC signal. The EBCM uses this alternating current signal to calculate wheel speed. The wheel speed sensors are replaceable only as part of the wheel hub and bearing assemblies.
- Traction Control Switch (w/NW7) - The TCS is manually disabled or enabled using the traction control switch.
- Stop Lamp Switch - The EBCM uses the stop lamp switch as an indication that the brake pedal is applied.