LEMON Manuals: Even more car manuals for everyone: 1960-2025
Home >> Saturn >> 2007 >> RELAY AWD V6-3.9L >> Repair and Diagnosis >> Powertrain Management >> Computers and Control Systems >> Coolant Temperature Sensor/Switch (For Computer) >> Locations
April 5, 2026: LEMON Manuals is launched! Read the announcement.

Coolant Temperature Sensor/Switch (For Computer): Locations



Engine Controls Component Views

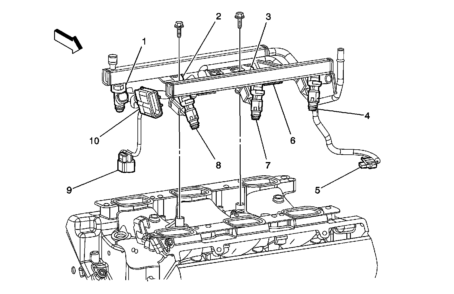
Fuel Rail (LGD/LZ9)




1 - Fuel Injector 1
2 - Fuel Injector 3
3 - Fuel Injector 5
4 - Fuel Injector 6
5 - Engine Coolant Temperature (ECT) Sensor
6 - S142
7 - Fuel Injector 4
8 - Fuel Injector 2
9 - Crankshaft Position (CKP) Sensor
10 - C102

Rear of the Engine (LGD/LZ9)




1 - Throttle Actuator Control (TAC) Module
2 - Manifold Absolute Pressure (MAP) Sensor
3 - Ignition Control Module (ICM)
4 - Heated Oxygen Sensor (HO2S) 1
5 - Knock Sensor (KS) 1
6 - Block Heater
7 - Crankshaft Position (CKP) Sensor
8 - Engine Oil Level Switch
9 - Engine Coolant Temperature (ECT) Sensor