LEMON Manuals: Even more car manuals for everyone: 1960-2025
Home >> Saturn >> 2007 >> Sky Base, Automatic >> Repair and Diagnosis (Single Page) >> Electrical >> Motors, Switches, Relays >> OEM Connector End Views >> Engine Control Module Connector End Views >> Engine Control Module (ECM) Connector End View C1
April 5, 2026: LEMON Manuals is launched! Read the announcement.

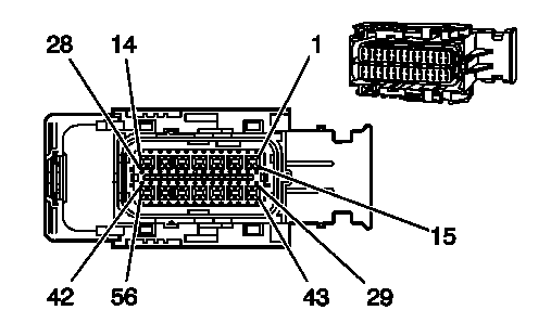
Engine Control Module (ECM) Connector End View C1

Fig 1: Engine Control Module (ECM) C1 Connector End View
GM1673474Courtesy of GENERAL MOTORS CORP.
Engine Control Module (ECM) C1 Connector Parts Information

Connector Part Information 
  • OEM: 34576-2603
  • Service: 88988373
  • Description: 56-Way F (GY)
Terminal Part Information 
  • Pins: 6, 9, 13, 19, 20, 34, 44, 48, 55
  • Terminal/Tray: 33467-0005/23
  • Core/Insulation Crimp: J/J
  • Release Tool/Test Probe: J38125-213/J-35616-64B (L-BU)
  • Pins: 7, 12, 18, 33, 35-37, 40, 47, 49, 53, 54, 56
  • Terminal/Tray: 33467-0003/23
  • Core/Insulation Crimp: H/H
  • Release Tool/Test Probe: J38125-213/J-35616-64B (L-BU)
Engine Control Module (ECM) C1 Connector Terminal Identification

Pin Wire Color Circuit No. Function
1-5 - - Not Used
6 BN/WH 379 CPP Switch Signal (MA5)
7 L-BU 20 Stop Lamp Supply Voltage
8 - - Not Used
9 TN 2759 Fuel Tank Pressure Sensor Low Reference
10-11 - - Not Used
12 BN/WH 419 MIL Control
13 D-GN/WH 465 Fuel Pump Relay Control
14-17 - - Not Used
18 BN 4 Accessory Voltage
19 PK 1039 Ignition 1 Voltage
20 RD/WH 840 Battery Positive Voltage
21-32 - - Not Used
33 WH/BK 1164 5-Volt Reference
34 GY 2709 5-Volt Reference
35 TN 1274 5-Volt Reference
36 BN 1271 Low Reference
37 PU 1272 Low Reference
38-39 - - Not Used
40 BN 5069 Main Relay Control
41-43 - - Not Used
44 PU 1589 Fuel Level Sensor Signal
45-46 - - Not Used
47 D-BU 1161 APP Sensor 1 Signal
48 D-GN 890 Fuel Tank Pressure Sensor Signal
49 L-BU 1162 APP Sensor 2 Signal
50-52 - - Not Used
53 D-GN/WH 459 A/C Compressor Clutch Relay Control (C60)
54 D-BU 473 High Speed Cooling Fan Relay Control
55 WH 1310 EVAP Canister Vent Solenoid Control
56 YE 447 Starter Relay Coil Control


Fig 1: Engine Control Module (ECM) C1 Connector End View
GM1826274Courtesy of GENERAL MOTORS CORP.
Engine Control Module (ECM) C1 Connector Parts Information

Connector Part Information 
  • OEM:1 928 401 713
  • Service: 88988373
  • Description: 96-Way
Terminal Part Information 
  • Pins:
  • Terminal/Tray:
  • Core/Insulation Crimp:
  • Release Tool/Test Probe:
  • Pins:
  • Terminal/Tray:
  • Core/Insulation Crimp:
  • Release Tool/Test Probe:
Engine Control Module (ECM) C1 Connector Terminal Identification

Pin Wire Color Circuit No. Function
1 L-GN 5282 Camshaft Phaser Exhaust Solenoid (1)
2 PU 5284 Camshaft Phaser Intake Solenoid (1)
3-4 - - Not Used
5 YE 7301 High Pressure Fuel Pump Actuator High Control
6 D-GN/WH 428 EVAP Canister Purge Solenoid Control
7 OG 5275 Camshaft Position Intake Sensor (1)
8-9 - - Not Used
10 OG 225 Generator Turn On Signal
11-12 - - Not Used
13 BN/WH 2130 Low Reference
14 - - Not Used
15 GY 705 5-Volt Reference
16 D-GN 6391 Turbo Bypass Valve Control
17 TN/BK 231 Oil Pressure Switch Signal
18 YE 258 Wastegate Solenoid Control
19-23 - - Not Used
24 YE 581 TAC Motor Control - 1
25 - - Not Used
26 L-BU 4804 Direct Fuel Injector (DFI) High Voltage Control Cylinder 4
27 L-BU/WH 4904 Direct Fuel Injector (DFI) High Voltage Supply Cylinder 4
28 D-BU 4802 Direct Fuel Injector (DFI) High Voltage Control Cylinder 2
29 D-BU/WH 4902 Direct Fuel Injector (DFI) High Voltage Supply Cylinder 2
30 GY 23 Generator Field Duty Cycle Signal
31-33 - - Not Used
34 D-GN 5273 Camshaft Position Exhaust Sensor (1)
35 YE 573 CKP Sensor 1 Signal
36 YE 2918 FRP Sensor Signal
37 L-GN 432 MAP Sensor Signal
38 GY 598 5-Volt Reference
39 GY 2701 5-Volt Reference
40 - - Not Used
41 TN 552 Low Reference
42 TN 808 Low Reference
43 - - Not Used
44 TN 2761 Low Reference
45 GY 605 5-Volt Reference
46 TN 452 Low Reference
47 - - Not Used
48 BN 582 TAC Motor Control - 2l
49-50 - - Not Used
51 BN 4801 Direct Fuel Injector (DFI) High Voltage Control Cylinder 1
52 D-GN 4803 Direct Fuel Injector (DFI) High Voltage Control Cylinder 3
53 D-GN/WH 4903 Direct Fuel Injector (DFI) High Voltage Supply Cylinder 3
54 BN/WH 419 MIL Control
55 PU 2121 IC 1 Control
56 D-GN/WH 2124 IC 4 Control
57-58 - - Not Used
59 D-BU 496 Knock Sensor Signal
60 GY 2303 Low Reference
61-63 - - Not Used
64 TN 407 Low Reference
65 - - Not Used
66 PU 7330 Pre-Throttle Air Temp and Press (TMAP) Air Pressure Signal
67 TN/WH 3111 Heated Oxygen Sensor Low Signal Bank 1 Sensor (1)
68 WH 5279 Output Pump Current
69-72 - - Not Used
73 PU 7300 High Pressure Fuel Pump Actuator Low Control
74 - - Not Used
75 BN/WH 4901 Direct Fuel Injector (DFI) High Voltage Supply Cylinder 1
76-77 - - Not Used
78 BN 2129 Low Reference
79 L-BU 2123 IC 3 Control
80 OG/WH 2122 IC 2 Control
81 - - Not Used
82 YE 410 ECT Sensor Signal
83 GY 1716 Knock Sensor Signal
84 L-BU 1876 Knock Sensor 2 Signal
85 - - Not Used
86 L-BU 7329 Pre-Throttle Air Temp and Press (TMAP) Temperature Signal
87 - - Not Used
88 TN 2752 Low Reference
89 PU 486 TP Sensor 2 Signal
90 D-GN 485 TP Sensor 1 Signal
91 L-GN 5278 Heated Oxygen Sensor Input Pump Current Bank 1 Sensor (1)
92 PU/WH 3110 Heated Oxygen Sensor High Signal Bank 1 Sensor (1)
93-94 - - Not Used
95 GY 597 5-Volt Reference
96 GY/WH 3113 HO2S Heater Low Control Bank 1 Sensor 1