LEMON Manuals: Even more car manuals for everyone: 1960-2025
Home >> Saturn >> 2007 >> Sky Base, Standard >> Repair and Diagnosis (Single Page) >> Engine Mechanical >> Engine Mechanical - 2.4L >> Specifications >> Thread Repair Specifications >> Engine Block - Bottom View
April 5, 2026: LEMON Manuals is launched! Read the announcement.

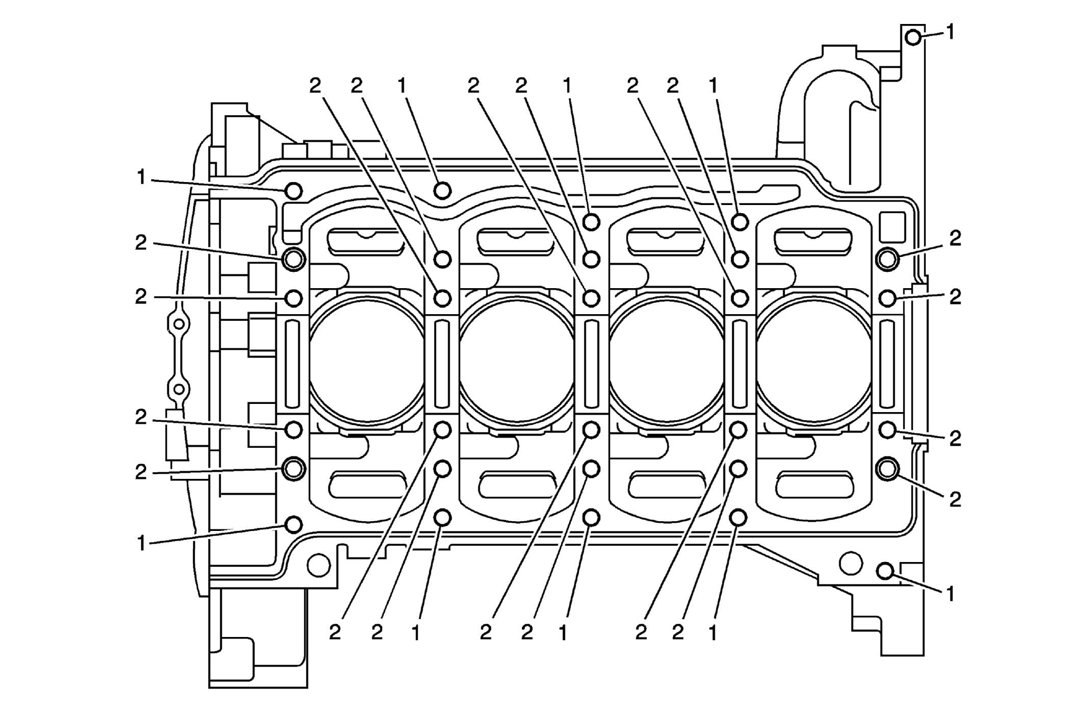
Engine Block - Bottom View

Fig 1: Identifying Bolt Size & Locations On Engine Block - Bottom
GM1492385Courtesy of GENERAL MOTORS CORP.
Engine Block - Bottom View

Service Call Out Thread Size Insert Drill Counterbore Tool Tap Driver Drill Depth (Maximum) Tap Depth (Maximum)
J 42385-850 MM (IN) MM (IN)
1 M8 x 1.25 210 206 207 208 209 28 1.102 22 0.87
2 M10 x 1.5 514 511 N/A 512 513 60 2.362 53.5 2.11