LEMON Manuals: Even more car manuals for everyone: 1960-2025
Home >> Saturn >> 2008 >> Vue Green Line >> Repair and Diagnosis (Single Page) >> Quick Lookups >> Electrical Component Locations >> Wiring Systems And Power Management - Component Views & Component Connector End Views >> Component Connector End Views >> PRNDL Lamp
April 5, 2026: LEMON Manuals is launched! Read the announcement.

PRNDL Lamp

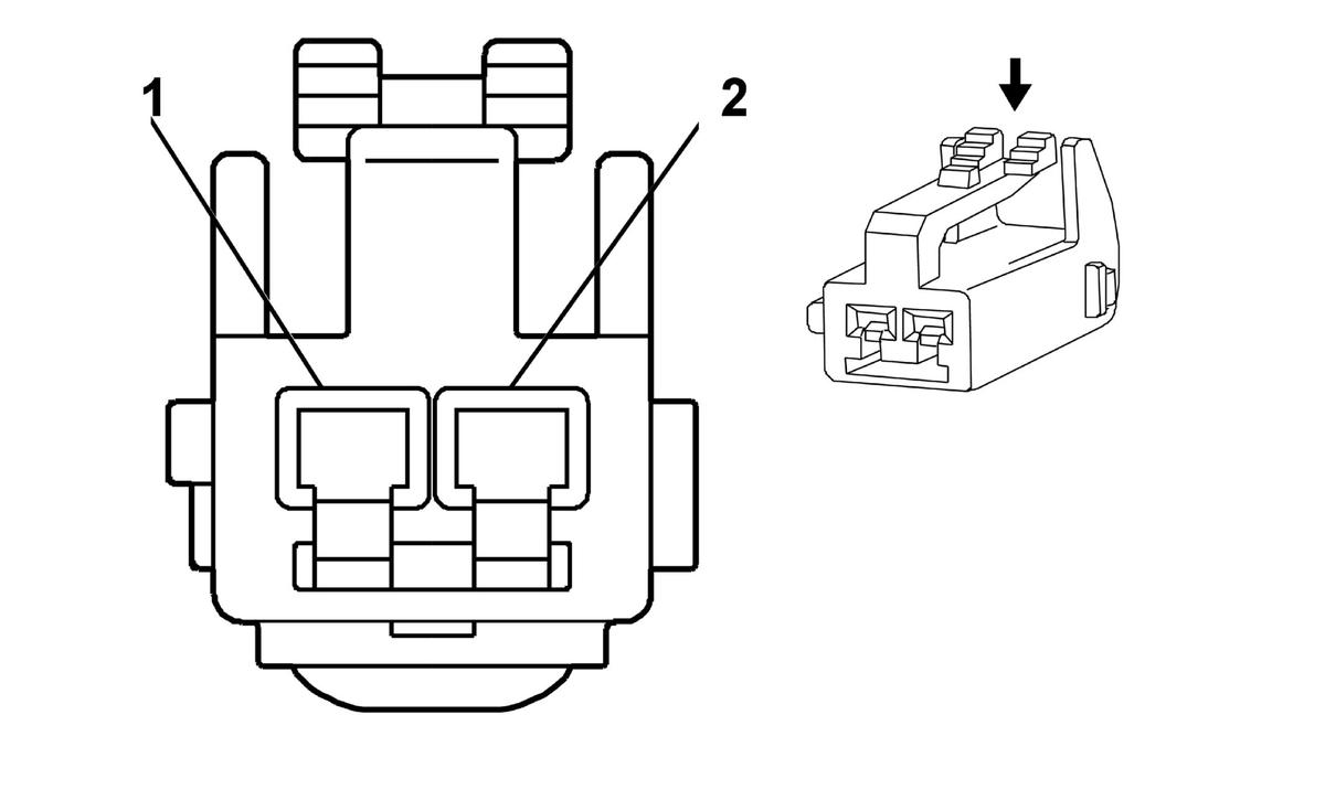
Fig 1: PRNDL Lamp
GM1962083Courtesy of GENERAL MOTORS CORP.
PRNDL Lamp

Pin Wire Circuit Function
1 0.35 BK 350 Ground
2 0.8 BN/WH 230 I/P Lamps Dimming Control
Connector Part Information 
  • OEM: 15337962
  • Service: See Catalog
  • Description: 2-Way F 090 II (NA)
Terminal Part Information 
  • Pins: 1
  • Terminal/Tray: 7116-4020/11
  • Core/Insulation Crimp: E/C
  • Release Tool/Test Probe: 15315247/J-35616-18 (BK)
  • Pins: 2
  • Terminal/Tray: 7116-4021/11
  • Core/Insulation Crimp: E/A
  • Release Tool/Test Probe: 15315247/J-35616-18 (BK)