LEMON Manuals: Even more car manuals for everyone: 1960-2025
Home >> Saturn >> 2009 >> Astra L4-1.8L >> Repair and Diagnosis >> Powertrain Management >> Computers and Control Systems >> Fuel Tank Pressure Sensor >> Service and Repair
April 5, 2026: LEMON Manuals is launched! Read the announcement.

Fuel Tank Pressure Sensor: Service and Repair




Fuel Tank Pressure Sensor Replacement

Special Tools

SA9805E /KM-796-A Fuel Line Separator

Removal Procedure

Note:
* The fuel tank must be drained with a suitable, commercially-available fuel removal unit and suction hose - follow safety regulations and national legislation. The fuel tank is fitted with a refill limit float valve. This is located on the filler neck in the fuel tank. To prevent damaging the refill limit float valve, a suitable suction hose must be used.
* In the presence of fuel vapors or escaping fuel - observe safety regulations and national legislation. Store drained fuel in a suitable, sealable container.

1. Open the hood.
Warning: Refer to Battery Disconnect Warning (Service Precautions).

2. Disconnect the battery.

* Disconnect the ground clamp from negative battery terminal.
* Loosen the nut.

3. Loosen the nuts on the right rear wheel
4. Raise the vehicle halfway.
5. Remove the right rear wheel.




6. Remove the right rear wheel housing inner panel.

* Remove the 2 nuts (1)
* Remove the 2 bolts (2)




7. Disconnect the wiring harness from the pressure sensor (atmospheric pressure) (1)

* Disconnect the wiring harness plug (2)
* Remove the 3 cable ties (3)

8. Raise the vehicle halfway.




9. Disconnect the wiring harness of pressure sensor (atmospheric pressure) (1) from the fuel filler tube (2)
Remove the 3 cable ties (3).
10. Remove the complete exhaust system. Refer to Exhaust System Replacement (Service and Repair).




11. Disconnect the wiring harness plug from the fuel tank fuel pump module (1).




12. Remove the vent hose (3) from the vent pipe (1).
Disconnect the quick-release fitting (2) using SA9805E /KM-796-A.




13. Remove the fuel filler tube from the fuel tank.
Release the clamp (1).




14. Remove the rear fuel lines (3, 5) from the middle fuel lines (1, 2).

* Disconnect the 2 quick-release fittings.
* Press release (4)




15. Remove the parking brake cable from the bracket (1) in 7 places.
16. Retract the jack.




17. Remove the 2 fuel tank holding straps.
Remove the 4 bolts (1).

Note: The wiring harness must be passed over the rear axle.

18. With the aid of an assistant, remove fuel tank.




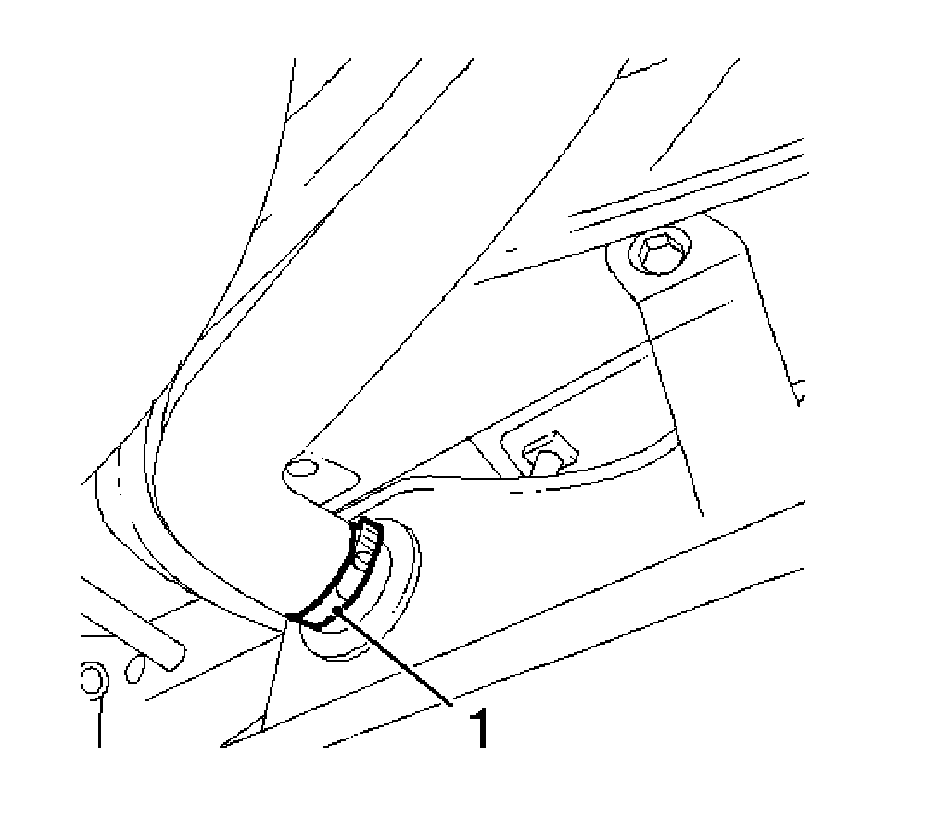
19. Remove the pressure sensor fuel tank (1).

* Disconnect the wiring harness plug of the pressure sensor fuel tank (2).
* Carefully pull upward from bracket (3).

Installation Procedure

1. Install the pressure sensor fuel tank.

* Attach the pressure sensor fuel tank to the bracket.
* Connect the wiring harness plug to the pressure sensor fuel tank.

2. With the aid of an assistant, position fuel tank to the vehicle.

Caution: Refer to Fastener Caution (Fastener Caution).

3. Install the 2 fuel tank holding straps.

Tighten the 4 fuel tank holding strap bolts to 23 Nm (17 lb ft).

4. Extend the jack.
5. Install the parking brake cable to the bracket in 7 places.
6. Attach the rear fuel lines to the middle fuel lines.
Connect the 2 quick-release fittings
7. Attach the fuel filler tube to the fuel tank.

Tighten the fuel filler tube clamp to 3.5 Nm (31 lb in).

8. Attach the vent hose to the vent pipe.
Connect the quick-release fitting.
9. Connect the wiring harness plug of the fuel tank fuel pump module.
10. Install the complete exhaust system. Refer to Exhaust System Replacement (Service and Repair).
11. Connect the wiring harness of the pressure sensor (atmospheric pressure) to the fuel filler tube.
Install the 3 cable ties.
12. Lower the vehicle halfway.
13. Connect the wiring harness of the pressure sensor (atmospheric pressure).

* Connect the wiring harness plug.
* Install the 3 cable ties.

14. Install the right rear wheel housing inner paneling.

* Tighten the 2 rear wheel housing inner paneling nuts to 2.5 Nm (22 lb in).
* Tighten the 2 rear wheel housing inner paneling bolts to 2.5 Nm (22 lb in).

15. Mount the right rear wheel.
16. Lower the vehicle halfway.
17. Install the right rear wheel.

Tighten the right rear wheel bolt to 110 Nm (81 lb ft).

18. Connect the battery.
Connect the ground clamp to the ground terminal.

Tighten the ground clamp nut to 5 Nm (44 lb in).

19. For programming procedures, refer to Control Module References (Programming and Relearning).
20. Close the hood.