LEMON Manuals: Even more car manuals for everyone: 1960-2025
Home >> Saturn >> 2009 >> Sky L4-2.4L >> Repair and Diagnosis >> Diagrams >> Exploded Views >> Differential Assembly >> Rear Axle Disassembled Views
April 5, 2026: LEMON Manuals is launched! Read the announcement.

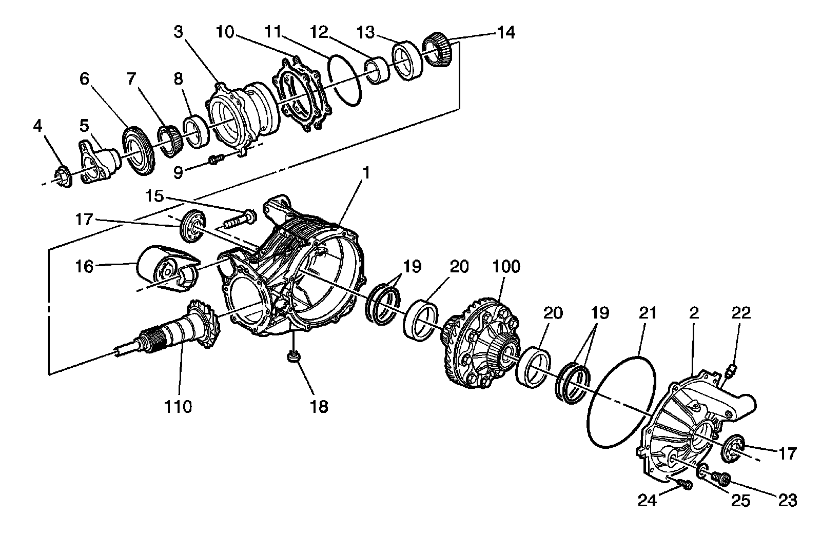
Rear Axle Disassembled Views




Rear Axle Disassembled Views




1 - Differential Carrier
2 - Carrier Cover
3 - Pinion Bearing Gage
4 - Nut
5 - Flange
6 - Pinion Oil Seal
7 - Bearing
8 - Cup
9 - Bolt
10 - Shim
11 - O-ring Seal
12 - Pinion Bearing Spacer
13 - Cup
14 - Bearing
15 - Bolt
16 - Differential Carrier Bracket
17 - Axle Oil Seal
17 - Axle Oil Seal
18 - Drain Plug
19 - Shim
19 - Shim
20 - Cup
20 - Cup
21 - O-ring Seal
22 - Vent
23 - Fill Plug
24 - Bolt
25 - Fill Plug Washer
100 - Differential Assembly
110 - Pinion Gear