LEMON Manuals: Even more car manuals for everyone: 1960-2025
Home >> Scion >> 2005 >> tC Automatic >> Repair and Diagnosis >> Body & Frame >> Windows >> Windshield/WINDOWGLASS/Mirror >> Window Defogger System >> Inspection
April 5, 2026: LEMON Manuals is launched! Read the announcement.

Window Defogger System: Inspection

  1. INSPECT BACK DOOR GLASS (DEFOGGER WIRE) 
    NOTE:
    • When cleaning the glass, wipe the glass along the wire using a soft, dry cloth. Take care not to damage the defogger wires.
    • Do not use detergents or glass cleaners that have abrasive ingredients.
    • When measuring voltage, wrap a piece of tin foil around the tip of the negative (-) tester probe and press the foil against the wire with your finger, as shown in Fig 1 .
    Fig 1: Inspecting Back Door Glass (Defogger Wire)
    G03073659Courtesy of © TOYOTA, LICENSE AGREEMENT TMS1002
    1. Turn the ignition switch ON.
    2. Turn the defogger switch ON.
    3. Measure the voltage at the center of each defogger wire as shown in Fig 2 .

      Standard: 

      VOLTAGE CRITERIA SPECIFICATIONS

      Voltage Criteria
      Approx. 5 V Wire is not broken
      Approx. 10 or 0 V Wire is broken
      Fig 2: Measuring Voltage At The Center Of Each Defogger Wire
      G03073660Courtesy of © TOYOTA, LICENSE AGREEMENT TMS1002

      HINT:

      If the reading is approximately 10 V, the wire may be faulty between the center of the wire and the wire end on the battery side. If there is no voltage, the wire may be faulty between the center of the wire end and the wire end on the ground side.

    4. Place the voltmeter's positive (+) lead against the defogger wire on the battery side.
    5. Place the voltmeter's negative (-) lead with the foil strip against the wire on the ground side.
    6. Slide the positive (+) lead from the battery side to the ground side.
    7. The point where the voltage drops from approximately 10 V to 0 V is where the defogger wire is broken.

      HINT:

      If the defogger wire is not broken, the voltmeter indicates 0 V as the positive (+) end of the defogger wire and gradually increases to approximately 12 V as the tester probe is moved to the other end.

      Fig 3: Placing Voltmeter's (+) Lead Against The Defogger Wire On The Battery Side
      G03073661Courtesy of © TOYOTA, LICENSE AGREEMENT TMS1002
    8. If necessary, repair the defogger wire.
      1. Clean the broken wire tips with grease, wax and silicone remover.
      2. Place masking tape along both sides of the wire.
      3. Thoroughly mix the repair agent (DuPont paste No. 4817 or equivalent).
        Fig 4: Identifying Repair Point
        G03073662Courtesy of © TOYOTA, LICENSE AGREEMENT TMS1002
      4. Using a fine tip brush, apply a small amount of the agent to the wire.
      5. After a few minutes, remove the masking tape.
        NOTE: Do not repair the defogger wire again for at least 24 hours.
        Fig 5: Applying Small Amount Of The Agent To The Wire
        G03073663Courtesy of © TOYOTA, LICENSE AGREEMENT TMS1002
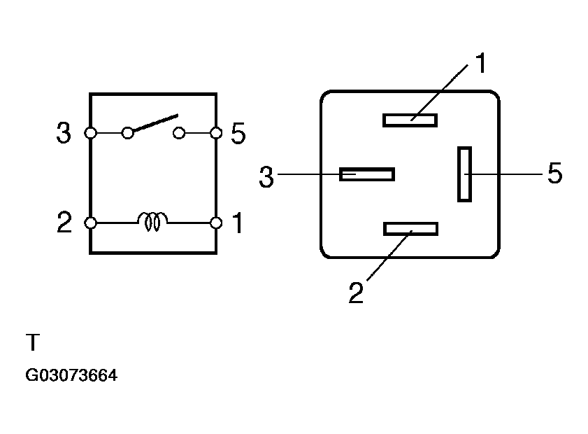
  2. INSPECT RELAY (Marking: IG1) 
    1. Remove the IG1 relay from the instrument panel J/B.
    2. Measure the resistance of the relay.

      Standard: 

      TESTER CONNECTION CONDITION SPECIFICATIONS

      Tester Condition Specified Condition
      3 - 5 10 kΩ or higher
      3 - 5 Below 1 Ω
      (when battery voltage is applied to terminals 1 and 2)

    If the result is not as specified, replace the relay.

    Fig 6: Inspecting Relay (Marking: IG1)
    G03073664Courtesy of © TOYOTA, LICENSE AGREEMENT TMS1002
  3. INSPECT INSTRUMENT PANEL JUNCTION BLOCK ASSY (DEF RELAY) 
    1. Disconnect the 1F connector.
    2. Measure the voltage.

      Standard: 

      TESTER CONNECTION CONDITION SPECIFICATIONS

      Tester Connection Switch Condition Specified Condition
      1F-2 - Body ground OFF -> ON 0 V -> 10 to 14 V

    If the result is not as specified, replace the instrument panel J/B assy.

    Fig 7: Disconnecting 1F Connector
    G03073665Courtesy of © TOYOTA, LICENSE AGREEMENT TMS1002